授权公布号:CN216157919U
一种具有快速拆装结构的水泵
有效
申请
2021-09-14
申请公布
1970-01-01
授权
2022-04-01
预估到期
2031-09-14
| 申请号 | CN202122225900.4 |
| 申请日 | 2021-09-14 |
| 授权公布号 | CN216157919U |
| 授权公告日 | 2022-04-01 |
| 分类号 | F04D13/06;F04D29/40;F04D29/60;F04D15/00;F04D29/08 |
| 分类 | 液体变容式机械;液体泵或弹性流体泵; |
| 申请人名称 | 中山市创星电器有限公司 |
| 申请人地址 | 广东省中山市小榄镇埒东村四十亩工业区 |
专利法律状态
2022-04-01
授权
状态信息
授权
摘要
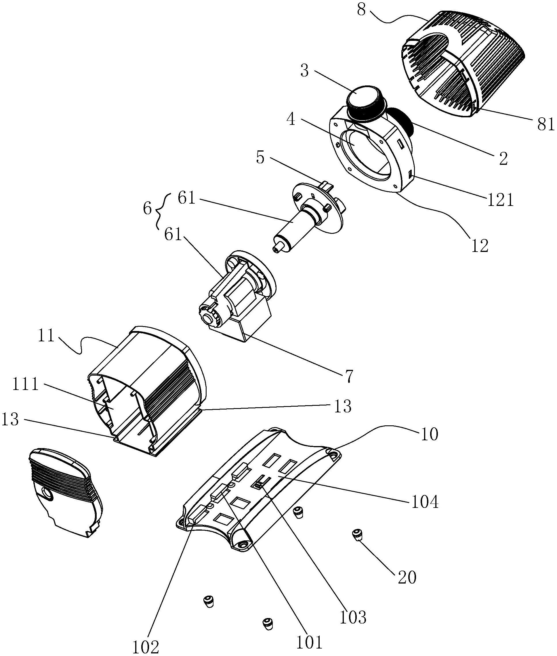
本实用新型公开了一种具有快速拆装结构的水泵,包括壳体,所述的壳体上设有进水口和出水口,所述的壳体内设有连通所述进水口和出水口的水腔、将水从进水口抽入水腔并向出水口排出的叶轮、驱动所述叶轮转动的驱动电机,所述的壳体底部设有底座,所述的底座上设有插接块,所述的壳体上设有供插接块滑动插入的插槽。本实用新型中,底座和壳体通过插接块与插槽配合插接,然后底座通过定位部和弹性卡扣对壳体两端顶靠定位,无需使用螺钉等紧固件,即可实现可拆卸安装,且拆装方便。


