授权公布号:CN216998023U
一种光催化杀菌过滤桶
有效
申请
2022-02-09
申请公布
1970-01-01
授权
2022-07-19
预估到期
2032-02-09
| 申请号 | CN202220260138.5 |
| 申请日 | 2022-02-09 |
| 授权公布号 | CN216998023U |
| 授权公告日 | 2022-07-19 |
| 分类号 | C02F9/08 |
| 分类 | 水、废水、污水或污泥的处理; |
| 申请人名称 | 晋江奇美礼品宠物工业有限公司 |
| 申请人地址 | 福建省泉州市晋江市东石镇东埕村三区99号 |
专利法律状态
2022-07-19
授权
状态信息
授权
摘要
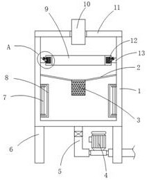
本实用新型公开了一种光催化杀菌过滤桶,包括过滤桶,所述过滤桶的上端外表面固定安装有盖板,所述盖板的中部固定安装有进水管,所述过滤桶下端外表面的四角固定安装有支脚,所述过滤桶下端外表面的中部固定安装有排水管,所述排水管的一端外表面固定安装有水泵,所述过滤桶内腔的上部设置有过滤板,所述过滤桶内壁的上部固定安装有安装框,所述过滤板与安装框之间设置有卡接组件,所述安装框、卡接组件的上端外表面均开设有螺纹孔,所述过滤桶内腔的中部固定安装有导向板。本实用新型所述的一种光催化杀菌过滤桶,具备便于对水进行过滤、杀菌,且便于安装更换过滤板等优点,带来更好的使用前景。


