授权公布号:CN217577518U
型材转运设备
有效
申请
2022-06-14
申请公布
1970-01-01
授权
2022-10-14
预估到期
2032-06-14
| 申请号 | CN202221476639.3 |
| 申请日 | 2022-06-14 |
| 授权公布号 | CN217577518U |
| 授权公告日 | 2022-10-14 |
| 分类号 | B65G69/24 |
| 分类 | 输送;包装;贮存;搬运薄的或细丝状材料; |
| 申请人名称 | 江苏淮海型材科技有限公司 |
| 申请人地址 | 江苏省淮安市淮阴区嫩江路188号 |
专利法律状态
2022-10-14
授权
状态信息
授权
摘要
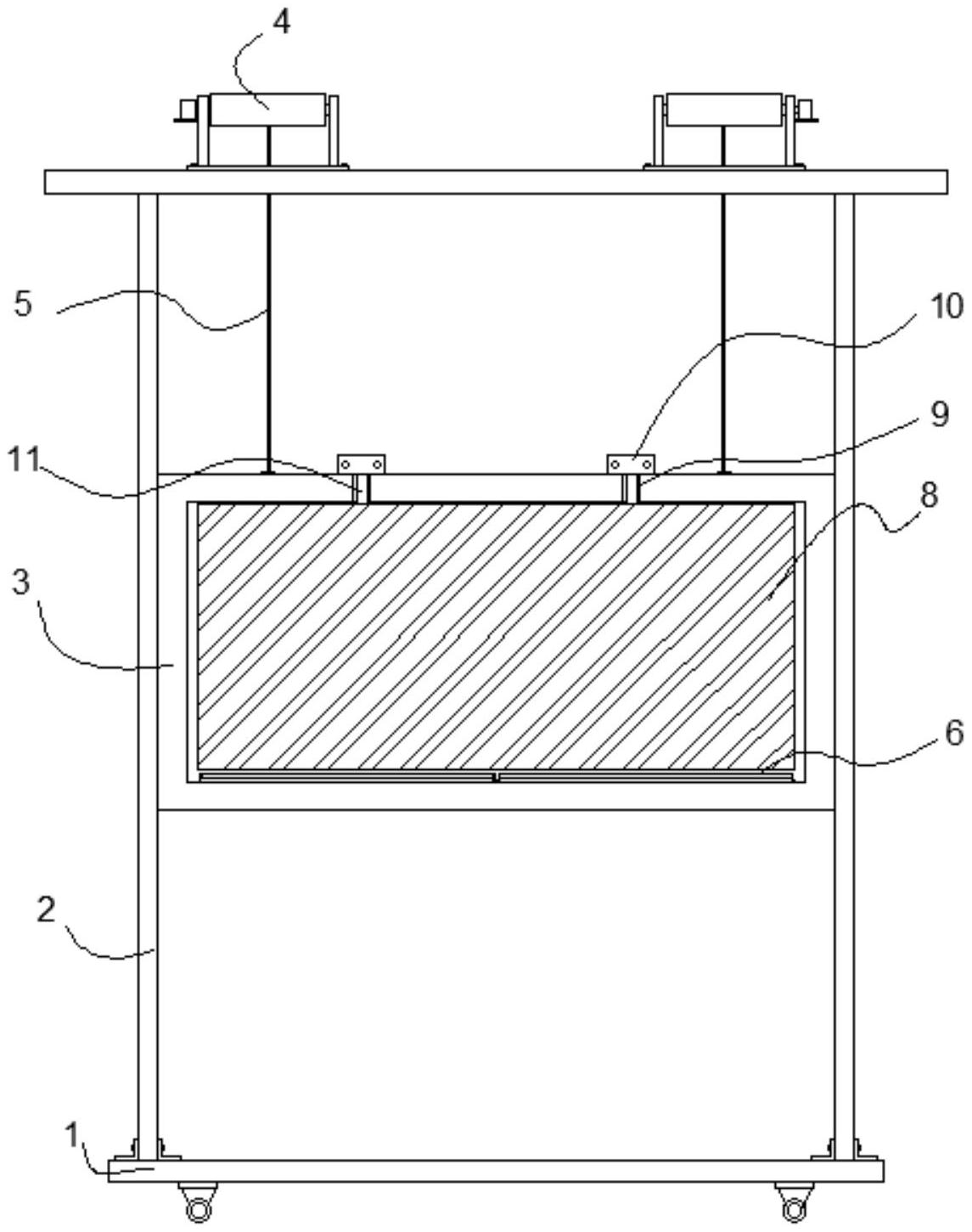
本实用新型公开了型材转运设备,包括带有行走结构的底盘及安装于底盘上的架体,所述架体的内部悬吊有承载箱,所述架体的顶部设置有卷扬机,所述卷扬机的收线筒上缠绕有绳索并通过绳索与承载箱连接,所述承载箱的内部末端设置有可以前后平移的推板,所述承载箱的内底部还设有用于辅助型材移动的助动装置。本实用新型中,承载箱悬吊在架体内部,可以进行升降调节,并配合可以向前移动的推板,将整个装置与车厢口对应时,可以将承载箱内的型材直接推入到车厢内,这样不需要人工将型材一一摆放到车厢内,可以提高型材的转运效率,节约人力,降低用工成本。


