授权公布号:CN212614325U
一种具有密封结构的塑钢型材
有效
申请
2020-05-12
申请公布
1970-01-01
授权
2021-02-26
预估到期
2030-05-12
| 申请号 | CN202020770626.1 |
| 申请日 | 2020-05-12 |
| 授权公布号 | CN212614325U |
| 授权公告日 | 2021-02-26 |
| 分类号 | E06B3/263;E06B7/23 |
| 分类 | 一般门、窗、百叶窗或卷辊遮帘;梯子; |
| 申请人名称 | 江苏淮海型材科技有限公司 |
| 申请人地址 | 江苏省淮安市淮阴区嫩江路188号 |
专利法律状态
2021-02-26
授权
状态信息
授权
摘要
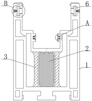
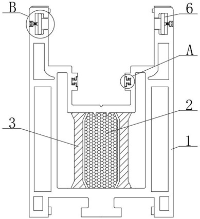
本实用新型涉及型材技术领域,尤其为一种具有密封结构的塑钢型材,包括型材本体,所述型材本体内部中央固定连接有吸音板,所述吸音板左右两侧设有隔热层,所述隔热层上下端面均与型材本体固定连接,所述吸音板上方左右两侧均设有密封板,所述密封板内部均固定连接有呈上下分布的导向柱;本实用新型中,通过设置的吸音板、隔热层、密封板和导向柱,吸音板和隔热层不但可以实现隔热和吸音的作用,同时还有具有支撑型材的目的,避免其变形,而设置的密封板可以与窗户本体紧密接触,具有很好的密封作用。


