授权公布号:CN212507918U
防火内开扇塑料型材
有效
申请
2020-04-13
申请公布
1970-01-01
授权
2021-02-09
预估到期
2030-04-13
| 申请号 | CN202020532805.1 |
| 申请日 | 2020-04-13 |
| 授权公布号 | CN212507918U |
| 授权公告日 | 2021-02-09 |
| 分类号 | E06B3/263; |
| 分类 | 一般门、窗、百叶窗或卷辊遮帘;梯子; |
| 申请人名称 | 江苏淮海型材科技有限公司 |
| 申请人地址 | 江苏省淮安市淮阴区嫩江路188号 |
专利法律状态
2021-02-09
授权
状态信息
授权
摘要
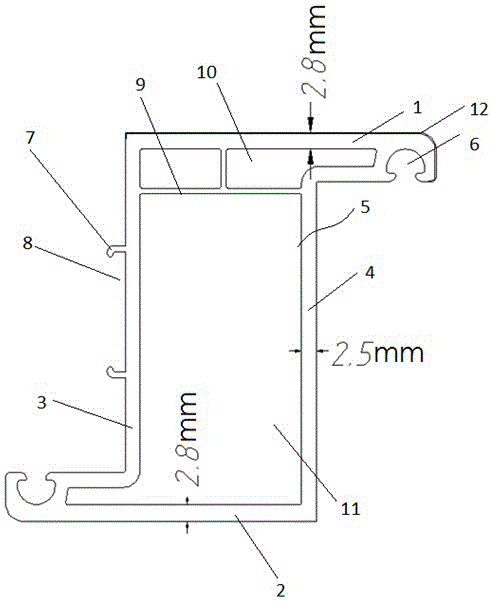
本实用公开了一种防火内开扇塑料型材,该塑料型材由外表面、内表面、外立面、内立面、中空腔和密封条槽口整体组成,其特征在于:在外立面的中间位置设有两条相对的卡口轨道,两卡口轨道之间形成防火密封条槽。本实用新型表面整体完整性,内腔体形状规整,型材密封性更好,防火性更强。


