授权公布号:CN212716300U
一种具有加强结构的塑钢型材
有效
申请
2020-05-13
申请公布
1970-01-01
授权
2021-03-16
预估到期
2030-05-13
| 申请号 | CN202020786881.5 |
| 申请日 | 2020-05-13 |
| 授权公布号 | CN212716300U |
| 授权公告日 | 2021-03-16 |
| 分类号 | E06B7/14;E06B1/36;E06B5/10 |
| 分类 | 一般门、窗、百叶窗或卷辊遮帘;梯子; |
| 申请人名称 | 江苏淮海型材科技有限公司 |
| 申请人地址 | 江苏省淮安市淮阴区嫩江路188号 |
专利法律状态
2021-03-16
授权
状态信息
授权
摘要
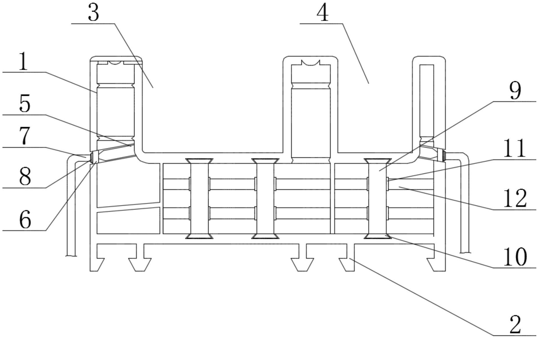
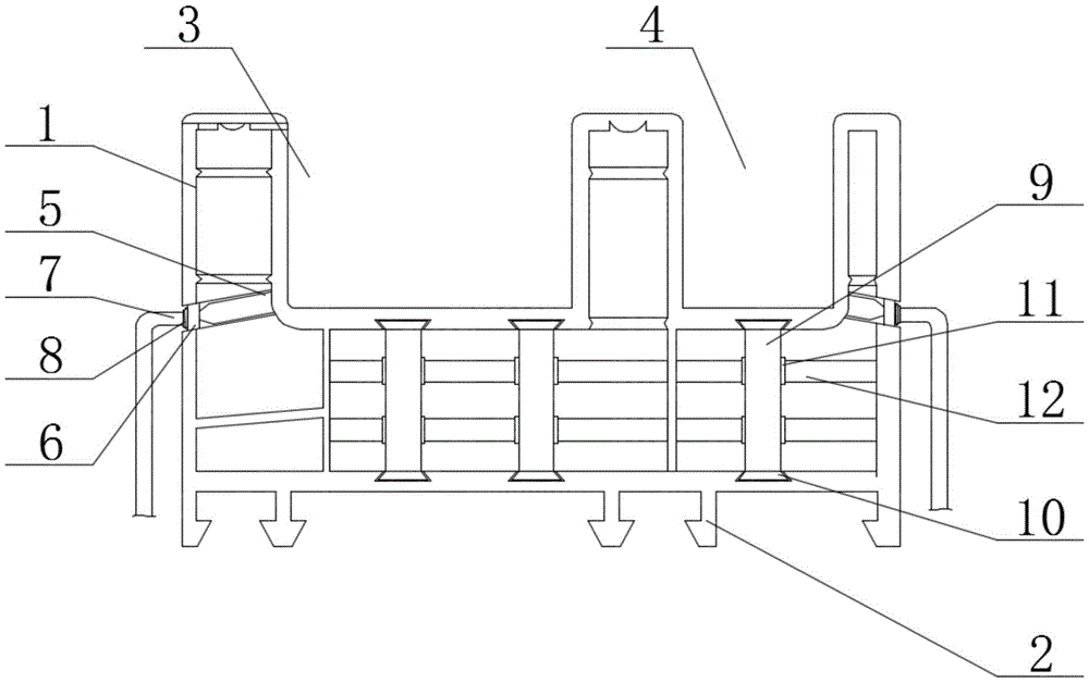
本实用新型涉及塑钢型材技术领域,尤其为一种具有加强结构的塑钢型材,包括型材主体,所述型材主体的底部通过一体成型设置固定有安装支脚,且型材主体的顶部一侧通过一体成型设置开设有主推拉槽,所述型材主体的顶部另一侧开设有副推拉槽,所述主推拉槽的一侧斜下方位置设置有导流管道,且导流管道远离主推拉槽的一侧斜下方位置固定有螺纹接口,本实用新型中,通过设置的卡块、型材主体、竖向板和横向杆,结合在卡块的连接配合下,该型材利用契合的方式,使得由竖向板和横向杆构成的“十”字结构实现与型材主体的固定连接,此时该型材借助这一“十”字结构的内置,可有效地提高整个型材的强度,并且有效地延长该型材的使用年限。


