授权公布号:CN205936176U
多功能断桥窗框
有效
申请
2016-08-09
申请公布
1970-01-01
授权
2017-02-08
预估到期
2026-08-09
| 申请号 | CN201620857796.7 |
| 申请日 | 2016-08-09 |
| 授权公布号 | CN205936176U |
| 授权公告日 | 2017-02-08 |
| 分类号 | E06B3/263 |
| 分类 | 一般门、窗、百叶窗或卷辊遮帘;梯子; |
| 申请人名称 | 佛山市广源铝业有限公司 |
| 申请人地址 | 广东省佛山市三水区中心科技工业区南边B区4号地 |
专利法律状态
2017-02-08
授权
状态信息
授权
摘要
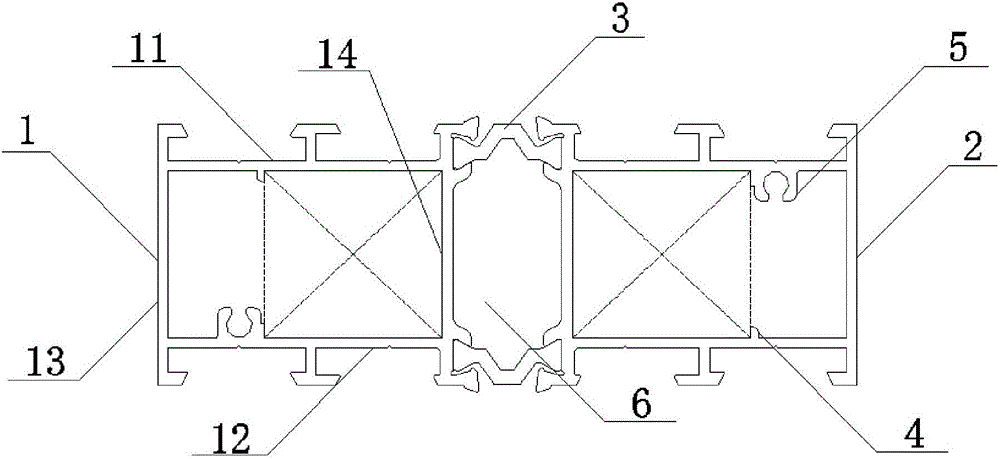
本实用新型涉及铝型材技术领域,公开了一种多功能断桥窗框,包括内框、外框和连接内框与外框的隔热条,所述内框包括由第一横板、第二横板、第一竖板和第二竖板围成腔体,所述腔体可以用于卡接角码,所述第一横板下表面设有限位凸起,所述第二横板上表面设有限位螺丝孔;所述隔热条包括第一隔热条与第二隔热条,所述第一隔热条与第二隔热条呈V型结构,且两者的V型尖端分别朝上和朝下;第一隔热条、第二隔热条、内框和外框围成一个隔热腔;所述内框与外框相对于隔热腔的中心点呈中心对称。本实用新型结构简单、使用方便,内框与外框构造相同,可以有效减低材料种类,降低库存量;同时有效降低铝材厂模具管理难度,提高生产效率。


