授权公布号:CN210067809U
一种阳光房立柱与门窗的连接件
有效
申请
2019-02-26
申请公布
1970-01-01
授权
2020-02-14
预估到期
2029-02-26
| 申请号 | CN201920241147.8 |
| 申请日 | 2019-02-26 |
| 授权公布号 | CN210067809U |
| 授权公告日 | 2020-02-14 |
| 分类号 | E06B1/60;E06B7/28 |
| 分类 | 一般门、窗、百叶窗或卷辊遮帘;梯子; |
| 申请人名称 | 佛山市广源铝业有限公司 |
| 申请人地址 | 广东省佛山市三水区中心科技工业园南边B区4号 |
专利法律状态
2020-02-14
授权
状态信息
授权
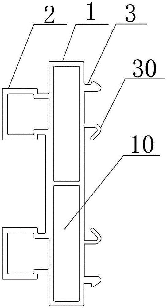
摘要
本实用新型公开了一种阳光房立柱与门窗的连接件,包括四棱柱型连接件本体以及设于所述连接件本体上的柱体穿插块和门窗连接卡扣,所述连接件本体设置柱体穿插块的表面与设置门窗连接卡扣的表面相对,所述门窗连接卡扣包括两个方向相反的卡勾。本实用新型能够使门窗安装更加便捷,且提高了阳光房门窗固定的紧固性,实现了阳光房与门窗连接处的美观效果。


