授权公布号:CN205936205U
新型下滑
有效
申请
2016-08-09
申请公布
1970-01-01
授权
2017-02-08
预估到期
2026-08-09
| 申请号 | CN201620857749.2 |
| 申请日 | 2016-08-09 |
| 授权公布号 | CN205936205U |
| 授权公告日 | 2017-02-08 |
| 分类号 | E06B3/46 |
| 分类 | 一般门、窗、百叶窗或卷辊遮帘;梯子; |
| 申请人名称 | 佛山市广源铝业有限公司 |
| 申请人地址 | 广东省佛山市三水区中心科技工业区南边B区4号地 |
专利法律状态
2017-02-08
授权
状态信息
授权
摘要
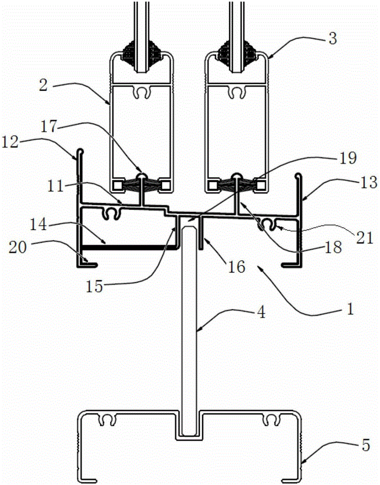
本实用新型涉及铝型材技术领域,公开了一种新型下滑,所述下滑用于支撑内下方和外下方,所述下滑包括的主板、设置在主板左右两侧的左右竖板、横板、位于主板下表面中部的第一下竖板与第二下竖板、位于主板上表面的分别用于支撑内下方与外下方的第一上竖板与第二上竖板;所述主板、左竖板、横板和第一下竖板围成室内腔;所述主板、第一下竖板与第二下竖板围成用于卡接玻璃的玻璃槽;所述左右竖板下端均向主板方向水平延伸形成延伸部。本实用新型结构简单、稳定性强、成本低。室内腔的封闭设计起到加强下滑稳定性作用,玻璃槽和延伸部可以当做加强筋使用,使下滑具备更强的承重能力。室外侧采用开放结构设计,能够进一步的降低产品生产成本。


