授权公布号:CN211230046U
一种快拆式重型推拉门
有效
申请
2019-08-07
申请公布
1970-01-01
授权
2020-08-11
预估到期
2029-08-07
| 申请号 | CN201921268268.8 |
| 申请日 | 2019-08-07 |
| 授权公布号 | CN211230046U |
| 授权公告日 | 2020-08-11 |
| 分类号 | E06B3/46;E05D15/06 |
| 分类 | 一般门、窗、百叶窗或卷辊遮帘;梯子; |
| 申请人名称 | 佛山市广源铝业有限公司 |
| 申请人地址 | 广东省佛山市三水区中心科技工业园南边B区4号 |
专利法律状态
2020-08-11
授权
状态信息
授权
摘要
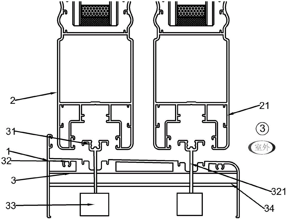
本实用新型涉及家居技术领域,具体涉及一种快拆式重型推拉门,包括门框和滑动设于所述门框的推拉门,所述门框的底部设有下滑轨,所述下滑轨包括的T字形支架和支撑所述推拉门的承载架,所述T字形支架上下滑动设于所述承载架,所述T字形支架底部设有推动所述T字形支架向上运动的弹性件。本实用新型结构简单、使用方便,利用在承载架上滑动设置T字形支架并在T字形支架底部设置弹性件,使T字形支架在没有受到竖直方向的外力时移动至最高处,并对推拉门提供水平方向的支撑,保证推拉门不会在水平方向发生滑动。而当T字形支架受到竖直向下的力的作用时,克服弹性件的力后T字形支架向下滑动,使推拉门可以轻易从下滑轨处移动离开。


