授权公布号:CN220360636U
一种新型过绳器
有效
申请
2023-03-31
申请公布
1970-01-01
授权
2024-01-19
预估到期
2033-03-31
| 申请号 | CN202320682924.9 |
| 申请日 | 2023-03-31 |
| 授权公布号 | CN220360636U |
| 授权公告日 | 2024-01-19 |
| 分类号 | A62B35/00 |
| 分类 | 救生;消防; |
| 申请人名称 | 中建深圳装饰有限公司 |
| 申请人地址 | 广东省深圳市罗湖区罗芳路口中饰大厦 |
专利法律状态
2024-01-19
授权
状态信息
授权
摘要
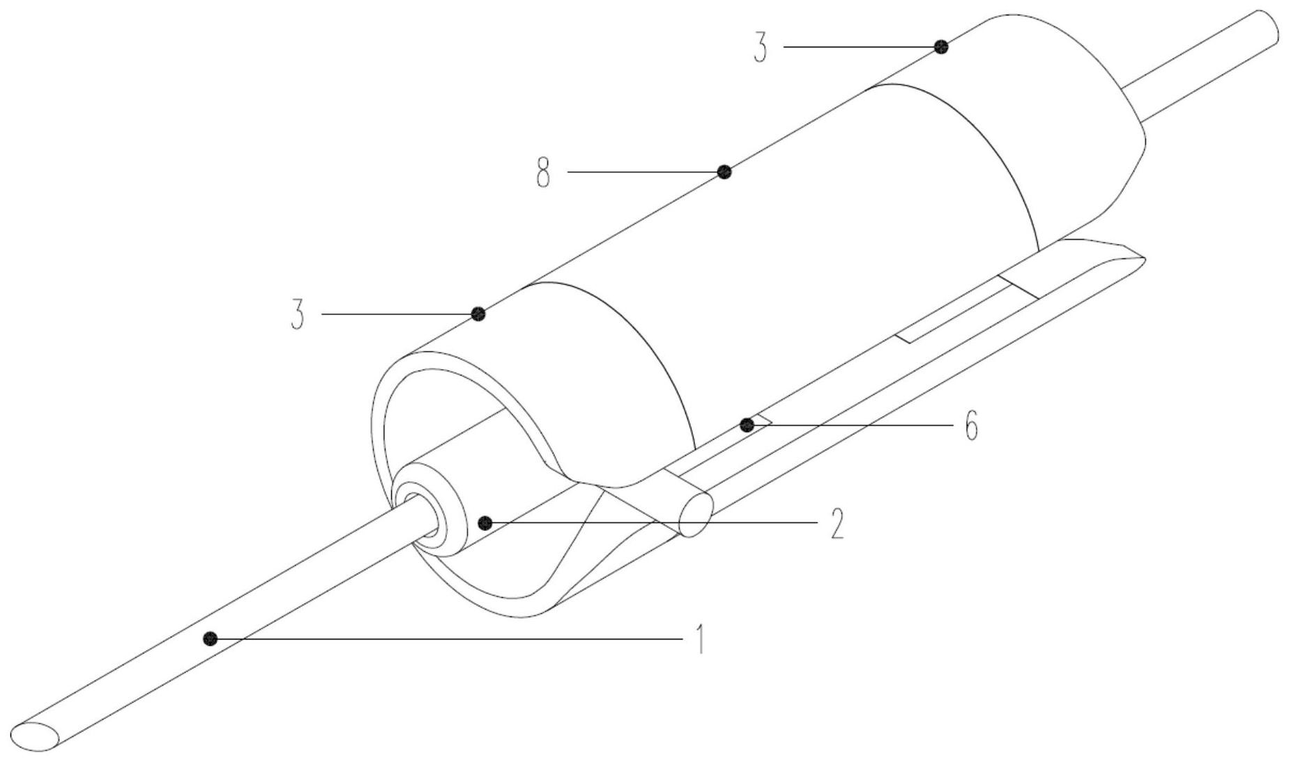
本实用新型属于建筑工程设备技术领域,尤其为一种新型过绳器,包括安全防护绳、绳扣、引导槽、主壳体,引导槽安装于主壳体的两侧,数量为2个,主壳体内部两侧安装有半月轴承,承数量为2个,所述半月轴承侧壁开有通长直线滑槽,半月轴承内侧壁设置有钢珠滑道,所述钢珠滑道内安装转动钢珠,转动钢珠数量为若干,主壳体内侧安装有自锁轮,绳扣在自锁轮内侧穿梭滑动设置,绳扣由挂钩连接杆与穿梭杆组成,该新型过绳器为临边水平安全防护绳提供更加稳固、可靠的防倾覆固定点的同时,又可使安全带挂钩顺畅的通过,使建筑工人可在一个既稳固又顺畅的安全防护环境下开展临边作业的施工,无需进行“换钩”操作,能广泛应用于各类建筑施工临边作业场所。


