授权公布号:CN205997244U
可多方位调节的压延成型机
有效
申请
2016-08-08
申请公布
1970-01-01
授权
2017-03-08
预估到期
2026-08-08
| 申请号 | CN201620849653.1 |
| 申请日 | 2016-08-08 |
| 授权公布号 | CN205997244U |
| 授权公告日 | 2017-03-08 |
| 分类号 | B29C43/24;B29C43/32 |
| 分类 | 塑料的加工;一般处于塑性状态物质的加工; |
| 申请人名称 | 四川蜀羊防水材料有限公司 |
| 申请人地址 | 四川省成都市崇州市工业集中发展区元通工业点 |
专利法律状态
2023-05-26
专利权人的姓名或者名称、地址的变更
状态信息
专利权人的姓名或者名称、地址的变更;IPC(主分类):B29C43/24;变更事项:专利权人;变更前:四川蜀羊防水材料有限公司;变更后:北新防水(成都)有限公司;变更事项:地址;变更前:610000 四川省成都市崇州市工业集中发展区元通工业点;变更后:611200 四川省成都市崇州市工业集中发展区元通工业点
2017-03-08
授权
状态信息
授权
摘要
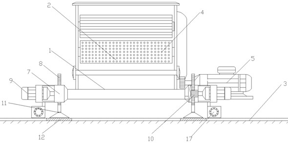
本实用新型公开了可多方位调节的压延成型机,属于塑料薄膜生产设备技术领域,包括机座、转动设置在机座上的压辊以及位于机座下方的轨道,所述压辊的辊面上设有若干成型模块,压辊设有用于驱动其转动的电动机A;所述轨道位于压辊的轴线方向上,机座的底部固定设置有与轨道相匹配的辊轮,辊轮设有驱动其转动的传动装置;所述机座的四周均固定设置有用于机座升降的支撑装置,解决了现有的压延成型机移动不方便、难以满足生产线的不同生产需求的问题。


