授权公布号:CN205103969U
点型家用感烟火灾探测器
有效
申请
2015-11-20
申请公布
1970-01-01
授权
2016-03-23
预估到期
2025-11-20
| 申请号 | CN201520929530.4 |
| 申请日 | 2015-11-20 |
| 授权公布号 | CN205103969U |
| 授权公告日 | 2016-03-23 |
| 分类号 | G08B17/10 |
| 分类 | 信号装置; |
| 申请人名称 | 营口新山鹰报警设备有限公司 |
| 申请人地址 | 辽宁省营口市西市区新建大街127号 |
专利法律状态
2016-03-23
授权
状态信息
授权
摘要
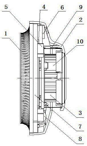
本实用新型公开了一种点型家用感烟火灾探测器,包括底座和上盖,所述上盖上设有迷宫烟雾组件,其特征在于所述底座和上盖内设有中板,所述中板上设有控制电路板,所述控制电路板上设有控制单元、蜂鸣器、感烟元件和电池,所述电池分别为控制单元、感烟元件和蜂鸣器供电,当烟雾通过迷宫烟雾组件进入上盖内,感烟元件将感应的信息上传至控制单元,控制单元再指令蜂鸣器报警,达到自动报警的作用,本实用新型由于采用上述结构,具有结构新颖、感烟灵敏、自动报警、隔离飞虫等优点。


