授权公布号:CN113397944B
一种皮肤科用皮肤提拉美容装置
有效
申请
2021-07-30
申请公布
2021-09-17
授权
2023-01-06
预估到期
2041-07-30
| 申请号 | CN202110871665.X |
| 申请日 | 2021-07-30 |
| 申请公布号 | CN113397944A |
| 申请公布日 | 2021-09-17 |
| 授权公布号 | CN113397944B |
| 授权公告日 | 2023-01-06 |
| 分类号 | A61H15/00;A45D44/22 |
| 分类 | 医学或兽医学;卫生学; |
| 申请人名称 | 杭州由莱科技有限公司 |
| 申请人地址 | 浙江省杭州市滨江区长河街道江虹路735号4幢三层306室 |
专利法律状态
2023-01-06
授权
状态信息
授权
2021-09-17
公布
状态信息
公布
摘要
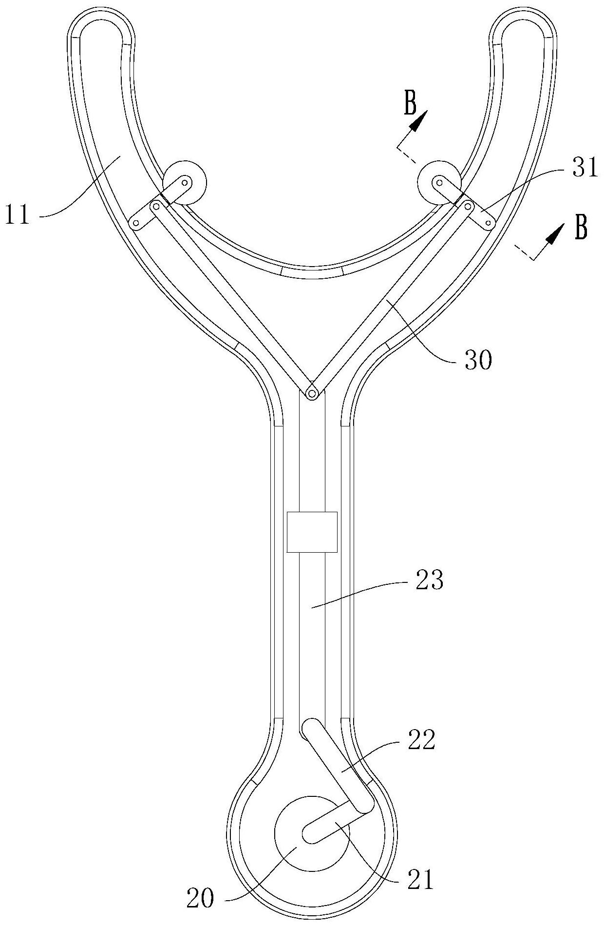
本发明公开了一种皮肤科用皮肤提拉美容装置,属于医疗美容器械领域。该装置包括:壳体,壳体包括握持部和两个臂叉,两个臂叉的一端均连接至握持部的一端;提拉装置,其与臂叉一一对应,提拉装置包括按摩滚轮、转动杆和限位装置,按摩滚轮可转动地设置在转动杆的一端、转动杆的另一端可转动地设置在臂叉内,臂叉上开设有一用于容纳转动杆伸出的让位槽;限位装置用于限制按摩滚轮单向转动;驱动装置,位于壳体内,用于带动转动杆转动。本发明通过驱动装置驱动提拉装置运动,提拉装置的运动轨迹为圆弧形轨迹,而其运动过程中带动按摩滚轮接触面部的轨迹大致呈弧形曲线;可以防止将皮肤向下拉扯,同时按摩滚轮滚动,对面部肌肉进行按摩。


