授权公布号:CN218273218U
一种加固平板电脑
有效
申请
2022-08-30
申请公布
1970-01-01
授权
2023-01-10
预估到期
2032-08-30
| 申请号 | CN202222298154.6 |
| 申请日 | 2022-08-30 |
| 授权公布号 | CN218273218U |
| 授权公告日 | 2023-01-10 |
| 分类号 | G06F1/16;G06F1/26 |
| 分类 | 计算;推算;计数; |
| 申请人名称 | 深圳市欧度利方科技有限公司 |
| 申请人地址 | 广东省深圳市龙华区大浪街道同胜社区华繁路289号裕健丰工业区3号厂房A栋1层 |
专利法律状态
2023-01-10
授权
状态信息
授权
摘要
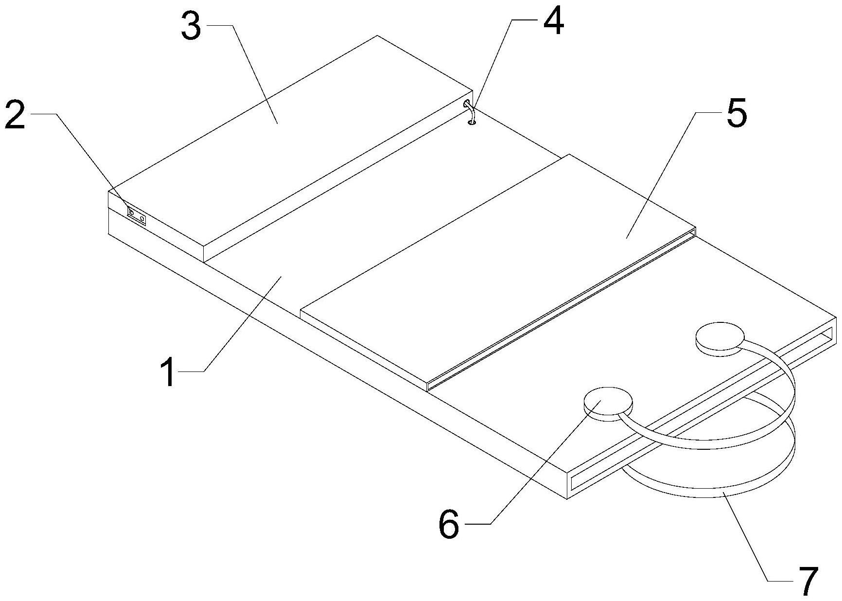
本实用新型公开了一种加固平板电脑,包括本体,本体上端左部安装有充电箱,充电箱下端与本体固定连接,充电箱左侧壁中部安装有充电口,充电口与充电箱电性连接,充电箱上端右部安装有导线,导线下端与本体上端连通,本体上下端右侧安装有两个固定板,两个固定板上均安装有拉环,拉环下端左右两侧均与固定板活动连接;本实用新型中,通过导线连接平板电脑,充电箱给平板电脑进行充电,为平板电脑提供充足的电能,避免平板电脑电量不足带来的不便,不影响使用,实现了本体的多功能,且通过两个推板根据平板电脑的型号的大小进行上下运动,使弹簧进行弹性形变,实现了不同型号大小的平板电脑进行加强固定,实用性强,带来便捷。


