授权公布号:CN218703150U
复杂形状车灯外面罩的擦拭装置
有效
申请
2022-10-08
申请公布
1970-01-01
授权
2023-03-24
预估到期
2032-10-08
| 申请号 | CN202222626726.9 |
| 申请日 | 2022-10-08 |
| 授权公布号 | CN218703150U |
| 授权公告日 | 2023-03-24 |
| 分类号 | B60S3/04;B08B1/00 |
| 分类 | 一般车辆; |
| 申请人名称 | 锦祥照明系统(大连)有限公司 |
| 申请人地址 | 辽宁省大连市经济技术开发区铁山东三路51号 |
专利法律状态
2023-03-24
授权
状态信息
授权
摘要
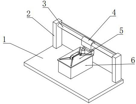
本实用新型公开了复杂形状车灯外面罩的擦拭装置,涉及车灯生产技术领域,包括底座,底座的上端左右两侧固定有立柱,两个立柱的上端之间固定有水平导杆,水平导杆上配合安装有滑动座,滑动座的下方通过导向块连接有支撑板和海绵块,水平导杆的后方设有限位板,限位板的两端也固定在立柱上。本实用新型整体结构稳定,设有水平和垂直的导向结构,利用快接管头接到负压吸尘器接口处实现负压,通过水平按压支撑板和海绵块的移动来清洁车灯外壳表面,大网孔的海绵块塑形效果突出,适应复杂的面罩表面,整个操作简单,快速,非常适合批量生产工艺使用。


