授权公布号:CN218327907U
具有改进散热的照明模块
有效
申请
2022-09-30
申请公布
1970-01-01
授权
2023-01-17
预估到期
2032-09-30
| 申请号 | CN202222596884.4 |
| 申请日 | 2022-09-30 |
| 授权公布号 | CN218327907U |
| 授权公告日 | 2023-01-17 |
| 分类号 | F21S45/43;F21S45/47;F21V29/67;F21V29/74;F21V17/10;F21V29/504;F21V29/89;F21W107/10N |
| 分类 | 照明; |
| 申请人名称 | 锦祥照明系统(大连)有限公司 |
| 申请人地址 | 辽宁省大连市经济技术开发区铁山东三路51号 |
专利法律状态
2023-01-17
授权
状态信息
授权
摘要
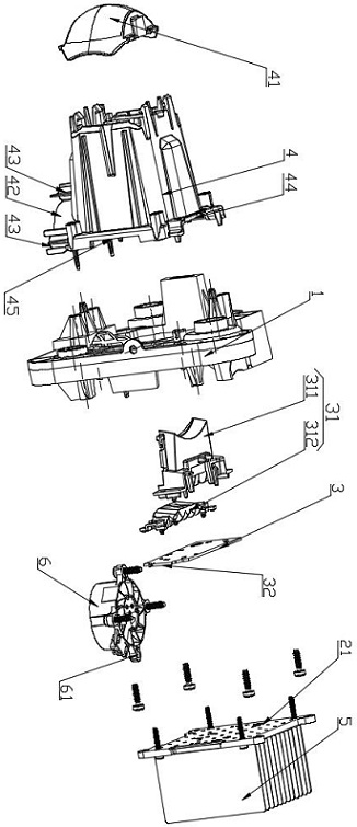
本实用新型公开了一种具有改进散热的照明模块,涉及车灯技术领域,包括车灯安装框架、车灯光源模组、车灯安装板、车灯电路板、光学元件、通电插头、镜头托架、投影透镜、折边、空心固定柱、出风口、散热片、风扇;本实用新型中将风扇的气流分成两个单独的气流,同时冷却光学元件区域和散热片,相对于传统的仅针对散热片进行降温,效率更高;更改了风扇的安装位置,风扇可以直接对光学元件和散热片位置进行降温作业,更好的气流分布改善了散热效率,减少了主光学元件的变形;风扇直接安装在镜头托架上,相对于传统的风扇安装,减少了一个风扇支架的使用,节省了成本的同时减少支架的使用,同时也为用户减少了维护成本。


