授权公布号:CN216915743U
一种汽车尾灯及其饰条安装结构
有效
申请
2022-03-10
申请公布
1970-01-01
授权
2022-07-08
预估到期
2032-03-10
| 申请号 | CN202220536113.3 |
| 申请日 | 2022-03-10 |
| 授权公布号 | CN216915743U |
| 授权公告日 | 2022-07-08 |
| 分类号 | B60R13/04;B60Q1/30 |
| 分类 | 一般车辆; |
| 申请人名称 | 浙江嘉利(丽水)工业股份有限公司 |
| 申请人地址 | 浙江省丽水市水阁工业区丽沙路1号 |
专利法律状态
2022-07-08
授权
状态信息
授权
摘要
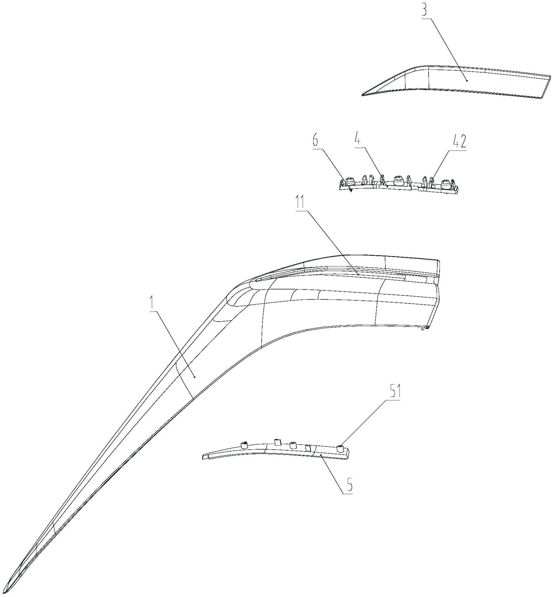
本实用新型公开了一种汽车尾灯及其饰条安装结构,包括PMMA材质的灯罩、饰条、第一基板和第二基板,所述灯罩上设有一用于安装饰条的条形槽;所述条形槽的底部壁上设有一安装长孔,所述第一基板位于灯罩的内侧并且第一基板的部分结构伸入安装长孔并与位于灯罩外侧的第二基板固定连接,所述饰条通过卡扣结构安装在第二基板上;其中,所述第一基板具有与灯罩内表面相抵的第一表面,所述第二基板具有与灯罩外表面相抵的第二表面;本技术方案中饰条能够稳固的安装在PMMA材料的灯罩上,以节约成本,并避免打螺钉出现灯罩开裂。


