授权公布号:CN205429329U
一种充电枪头带温度保护功能的新能源汽车充电枪
有效
申请
2016-03-17
申请公布
1970-01-01
授权
2016-08-03
预估到期
2026-03-17
| 申请号 | CN201620205228.9 |
| 申请日 | 2016-03-17 |
| 授权公布号 | CN205429329U |
| 授权公告日 | 2016-08-03 |
| 分类号 | H01R13/66;H01R13/70;H01R13/713;B60L11/18 |
| 分类 | 基本电气元件; |
| 申请人名称 | 绵阳高新区探索科技有限责任公司 |
| 申请人地址 | 四川省绵阳市绵阳高新区火炬西街北段 |
专利法律状态
2016-08-03
授权
状态信息
授权
摘要
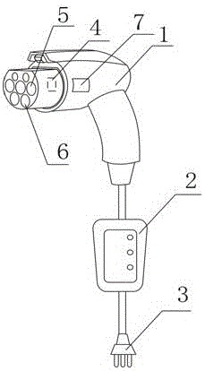
本实用新型公开了一种充电枪头带温度保护功能的新能源汽车充电枪,包括充电插头、缆上控制盒和充电枪头,所述缆上控制盒包括外供电控制装置,所述供电控制装置包括PWM输出端和PWM监测端,所述PWM输出端连接CP信号线插孔,所述PWM输出端连接在PWM输出端和CP信号线插孔间;所述壳体内设有一温控开关,所述温控开关固定在壳体内部,两端分别接地线插孔和CP信号线;火线、零线上分别设有开关。本实用新型电路结构简单,采用温控开关干涉CP信号的方式,就达到了自动根据温度控制充电的目的。克服了现有技术中充电枪头温度异常情况下不能及时发出信号告知缆上控制盒,导致热量聚集越来越大造成插座与插头出现短路情况。


