授权公布号:CN217520181U
一种颗粒状饲料干燥设备
有效
申请
2022-06-30
申请公布
1970-01-01
授权
2022-09-30
预估到期
2032-06-30
| 申请号 | CN202221669895.4 |
| 申请日 | 2022-06-30 |
| 授权公布号 | CN217520181U |
| 授权公告日 | 2022-09-30 |
| 分类号 | F26B11/06;F26B25/00;F26B25/16;F26B25/02 |
| 分类 | 干燥; |
| 申请人名称 | 广东粤海饲料集团股份有限公司 |
| 申请人地址 | 广东省湛江市霞山区机场路22号 |
专利法律状态
2022-09-30
授权
状态信息
授权
2022-06-30
公布
状态信息
公布
摘要
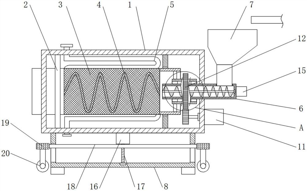
本实用新型公开了一种颗粒状饲料干燥设备,包括壳体、设置在壳体内部的支架以及干燥筒,且干燥筒通过支架与壳体的内部转动连接,干燥筒的内壁设置有螺旋输送叶片,壳体的内壁设置有加热盘管,所述壳体的侧面设置有自动上料机构,且壳体的下表面设置有移动机构。该颗粒状饲料干燥设备,在对饲料进行干燥的过程中,能够伺服电机的作用下带动绞龙页转动,从而使进料筒内的饲料能够自动输送至干燥筒的内部,同时在干燥的过程中,能够在驱动电机的作用下并通过两个齿盘带动转动管转动,转动管的转动通过支撑柱带动干燥筒转动,进而实现自动旋转干燥以及自动上料的目的,而且在螺旋输送叶片的作用下实现对饲料的连续干燥,提高了饲料干燥的效率。


