授权公布号:CN212574705U
基于步进式逆流强化换热控制的温开饮水设备
有效
申请
2020-09-18
申请公布
1970-01-01
授权
2021-02-23
预估到期
2030-09-18
| 申请号 | CN202022058654.3 |
| 申请日 | 2020-09-18 |
| 授权公布号 | CN212574705U |
| 授权公告日 | 2021-02-23 |
| 分类号 | A47J31/60; |
| 分类 | 家具;家庭用的物品或设备;咖啡磨;香料磨;一般吸尘器; |
| 申请人名称 | 青岛吉之美商用设备有限公司 |
| 申请人地址 | 山东省青岛市城阳区流亭街道空港产业聚集区 |
专利法律状态
2021-02-23
授权
状态信息
授权
摘要
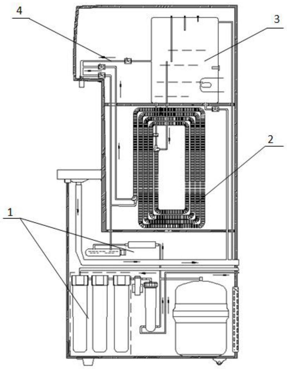
本实用新型涉及一种基于步进式逆流强化换热控制的温开饮水设备,属于饮水机温度控制技术领域。本实用新型包括净水器、热交换器、加热器、阀门总成和控制器,其中:净水器包括依次连接的前置过滤器、RO膜、后置过滤器以及UV灯;热交换器包括与净水器相连的常温供水口、与加热器相连的交换口Ⅰ和交换口Ⅱ;加热器包括加热管、传感器,以及若干水位电极;阀门总成包括与净水器相连的直饮水出口、与加热器相连的沸水出口,以及变温水出口。本实用新型结构精简且布局合理,可同时提供直饮水、变温水、沸水,使得供水温度多样化。


