授权公布号:CN206518456U
具有临界沸腾与冰蓄冷功能的饮水机
有效
申请
2016-08-31
申请公布
1970-01-01
授权
2017-09-26
预估到期
2026-08-31
| 申请号 | CN201620995887.7 |
| 申请日 | 2016-08-31 |
| 授权公布号 | CN206518456U |
| 授权公告日 | 2017-09-26 |
| 分类号 | A47J31/00;A47J31/50;A47J31/56 |
| 分类 | 家具;家庭用的物品或设备;咖啡磨;香料磨;一般吸尘器; |
| 申请人名称 | 青岛吉之美商用设备有限公司 |
| 申请人地址 | 山东省青岛市城阳区流亭街道双元路西 |
专利法律状态
2017-09-26
授权
状态信息
授权
摘要
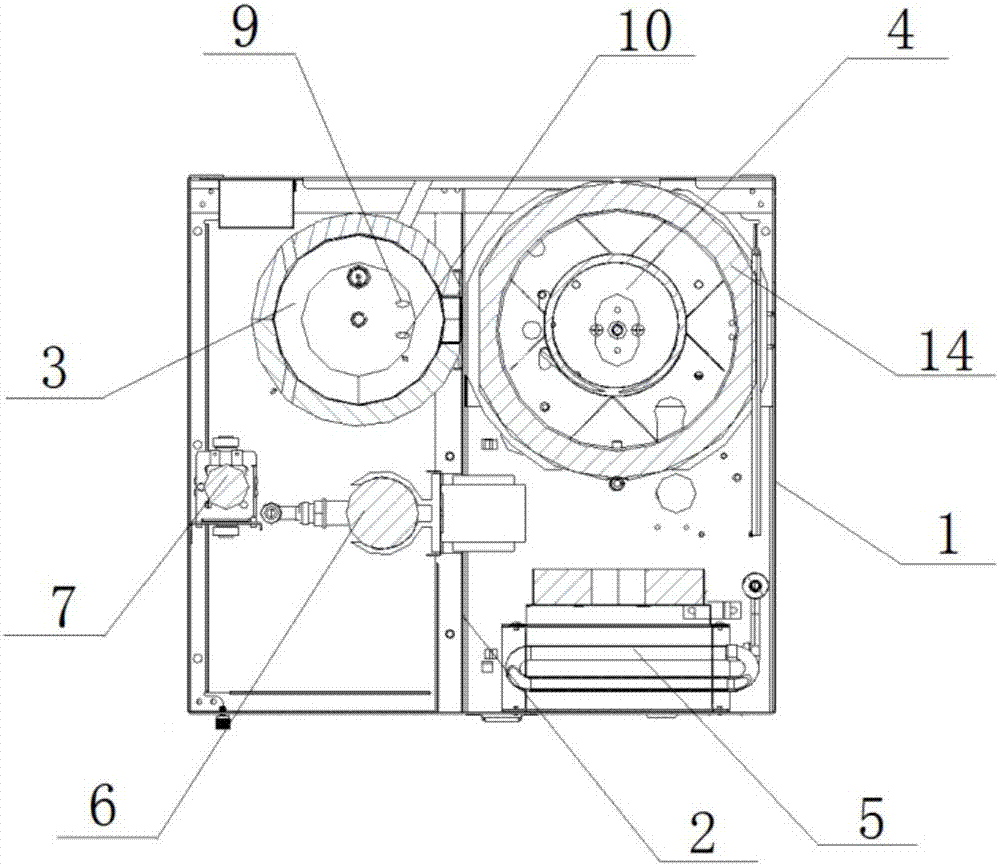
本实用新型涉及具有临界沸腾与冰蓄冷功能的饮水机,属于加热和制冷的联合系统技术领域。本实用新型制冷的制水量少和加热的实际温度低等问题。本实用新型包括由壳体内的隔板分割开的临界沸腾系统和冰蓄冷系统,临界沸腾系统和冰蓄冷系统均为圆筒状密封罐体,临界沸腾系统包括进水管、出水管和加热装置;冰蓄冷系统包括冷却胆、蒸发器和交换器,冷却胆设置有均由螺旋状金属管制成的蒸发器和交换器,交换器位于蒸发器内侧,冷却胆外包裹有保温材料,蒸发器与冰蓄冷系统外侧的制冷冷凝器相连,制冷冷凝器与饮水机压缩机相连。本实用新型可有效解决不同用户饮用水的需求,可广泛用于高档办公场所、商用写字楼、医院等商用场所。


