授权公布号:CN206342341U
一种非承压带膨胀盒和吸射功能的开水器
有效
申请
2016-08-31
申请公布
1970-01-01
授权
2017-07-21
预估到期
2026-08-31
| 申请号 | CN201621011338.8 |
| 申请日 | 2016-08-31 |
| 授权公布号 | CN206342341U |
| 授权公告日 | 2017-07-21 |
| 分类号 | A47J31/00;A47J31/44;F24H9/00 |
| 分类 | 家具;家庭用的物品或设备;咖啡磨;香料磨;一般吸尘器; |
| 申请人名称 | 青岛吉之美商用设备有限公司 |
| 申请人地址 | 山东省青岛市城阳区流亭街道双元路西 |
专利法律状态
2017-07-21
授权
状态信息
授权
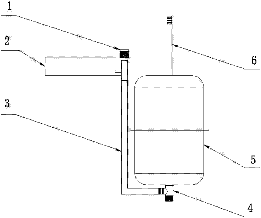
摘要
本实用新型涉及一种开水器,尤其涉及一种非承压带膨胀盒和吸射功能的开水器,它包括进水管、内胆、出水口和三通,进水管底端通过三通与内胆连通,内胆上部设有出水口,还包括吸射器和膨胀盒,吸射器设置在进水管端口,底端连接进水管,膨胀盒设置在吸射器上,两者之间连通,膨胀盒位置低于出水口,膨胀盒包括盒体和硅胶囊;本实用新型能够将加热时膨胀的水临时储存起来,并且在放水过程中将储存的膨胀水吸到内胆里面,吸完水以后里面封闭从而不会吸入空气而造成水流不稳,另外内胆里面的水越往上水温越高,本实用新型的膨胀水通过底部进入膨胀盒,膨胀盒内的水温不会过高,装置更加简单方便。


