授权公布号:CN216762369U
一种药品封装生产线的摆正机构
有效
申请
2022-02-17
申请公布
1970-01-01
授权
2022-06-17
预估到期
2032-02-17
| 申请号 | CN202220322634.9 |
| 申请日 | 2022-02-17 |
| 授权公布号 | CN216762369U |
| 授权公告日 | 2022-06-17 |
| 分类号 | B65B43/52;B65B43/42;B65B21/02 |
| 分类 | 输送;包装;贮存;搬运薄的或细丝状材料; |
| 申请人名称 | 四川升和药业股份有限公司 |
| 申请人地址 | 四川省成都市高新区科园南路88号9栋4层401号 |
专利法律状态
2022-06-17
授权
状态信息
授权
摘要
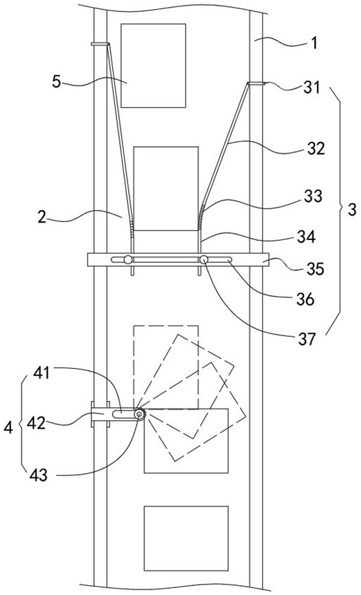
本实用新型提供了一种药品封装生产线的摆正机构,目的是解决现有方法在使用过程中,存在一定概率无法使塑料内托发生偏转的技术问题,本技术方案具有可使每个塑料内托都发生偏转,省去人工矫正的优点。该摆正机构,位于传输带顶部,且可拆卸的设于所述传输带两侧的边框上,包括:调整部,其两侧与所述边框可拆卸连接,所述调整部的一端为接收段,另一端为输出段;摆正部,一端可拆卸的连接在一侧的所述边框上,另一端位于所述传输带的顶部,且所述摆正部的此端具有一个靠近所述传输带的档杆;其中,所述调整部相对于所述摆正部位于所述传输带运动方向的上游,所述接收段相对于所述输出段位于所述传输带运动方向的上游,所述输出段正对所述档杆。


