授权公布号:CN212054290U
一种新型结构铝型材包边
有效
申请
2020-04-03
申请公布
1970-01-01
授权
2020-12-01
预估到期
2030-04-03
| 申请号 | CN202020474829.6 |
| 申请日 | 2020-04-03 |
| 授权公布号 | CN212054290U |
| 授权公告日 | 2020-12-01 |
| 分类号 | E06B1/34 |
| 分类 | 一般门、窗、百叶窗或卷辊遮帘;梯子; |
| 申请人名称 | 上海璞玉门业有限公司 |
| 申请人地址 | 上海市奉贤区兰博路3500号3幢 |
专利法律状态
2020-12-01
授权
状态信息
授权
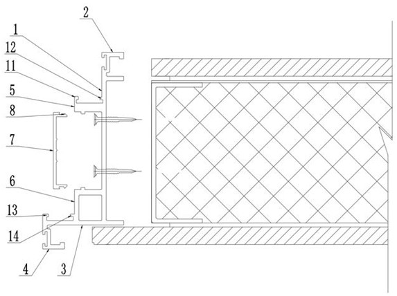
摘要
本实用新型公开了一种新型结构铝型材包边,包括铝型材包边主体及铝型材盖板;铝型材包边主体一端设置有饰面板卡件A,铝型材包边主体另一端设置有边板,边板背离铝型材包边主体一端设置有饰面板卡件B,饰面板卡件A及饰面板卡件B的开口方向朝向同一侧,铝型材包边主体近离饰面板卡件A一端并远离饰面板卡件A一侧设置有凸起条,铝型材包边主体近离饰面板卡件B一端并位于凸起条同一侧设置有L型板;铝型材盖板两端分别设置有卡头,铝型材盖板两侧的卡头分别与凸起条及L型板相配合,本实用新型结构合理,细防撞气密条及粗防撞气密条与包边连接性大大提高,不会发生脱落的情况,在使用时,可以配合使用,使门扇与门框接触处密封性大大提高。


