授权公布号:CN220589508U
一种酸雾吸收塔
有效
申请
2023-08-15
申请公布
1970-01-01
授权
2024-03-15
预估到期
2033-08-15
| 申请号 | CN202322193918.X |
| 申请日 | 2023-08-15 |
| 授权公布号 | CN220589508U |
| 授权公告日 | 2024-03-15 |
| 分类号 | B01D53/18 |
| 分类 | 一般的物理或化学的方法或装置; |
| 申请人名称 | 成都汇锦水务发展有限公司 |
| 申请人地址 | 四川省成都市郫都区现代工业港北片区望丛东路969号 |
专利法律状态
2024-03-15
授权
状态信息
授权
摘要
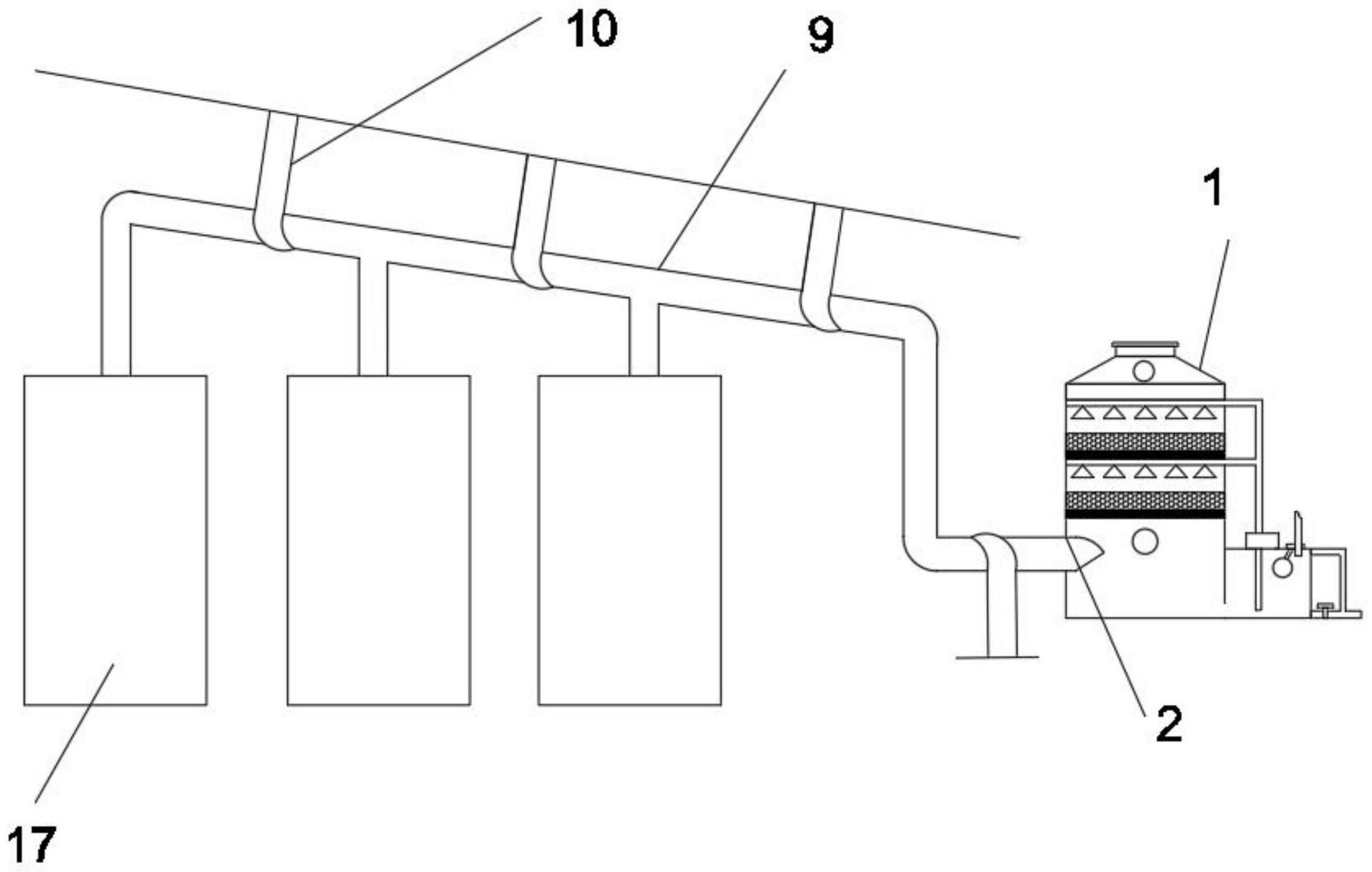
本实用新型公开了一种酸雾吸收塔,包括吸收塔体、鲍尔环处理层、喷淋层、储液池、储液罐、循环管道、循环泵、盐酸储罐、进风管道和自动补水装置,鲍尔环处理层、喷淋层和储液池固定安装在吸收塔体内,储液罐设置在吸收塔体外并与储液池连通,循环管道的进水端连通储液罐内和喷淋层,循环泵与循环管道连接,进风管道的出气口与吸收塔体连通,进风管道的进气口与一个盐酸储罐的顶部连通,进风管道进气口位置在垂直高度上高于出气口位置,自动补水装置包括浮球阀和补液管,通过浮球阀控制补液管的放液与否,本申请的酸雾输送无需额外动力驱动装置,自动补水装置可节约操作人员工作时间,提高补液效率。


