授权公布号:CN215752246U
车用线束保护拖链
有效
申请
2021-04-02
申请公布
1970-01-01
授权
2022-02-08
预估到期
2031-04-02
| 申请号 | CN202120688487.2 |
| 申请日 | 2021-04-02 |
| 授权公布号 | CN215752246U |
| 授权公告日 | 2022-02-08 |
| 分类号 | B60R16/02;H02G3/02 |
| 分类 | 一般车辆; |
| 申请人名称 | 伍素实业发展(上海)有限公司 |
| 申请人地址 | 上海市青浦区北青公路7523号 |
专利法律状态
2022-02-08
授权
状态信息
授权
摘要
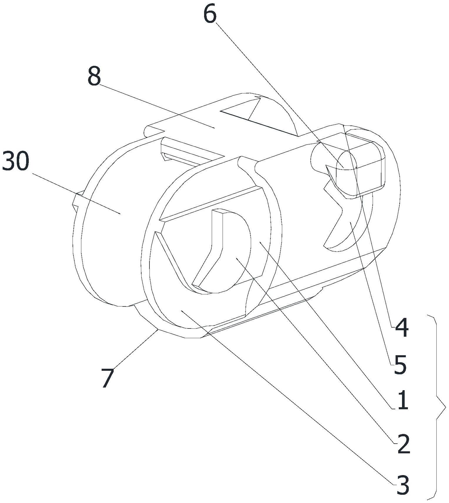
本实用新型涉及一种车用线束保护拖链,第一侧板设置于车用线束保护拖链两侧中的一侧,第二侧板设置于第一侧板的对侧,连接板设置于车用线束保护拖链顶部,连接板衔接第一侧板与第二侧板顶部中心处并固定,第二侧板与第一侧板沿车用线束保护拖链的中心轴对称设置,底板设置于车用线束保护拖链底部,挂钩设置于第一侧板外侧,车用线束保护拖链的挂钩结构,使装配中有效的与导轨配合,挂钩端部的导向结构沿导轨直线度运行,在第一侧板与第二侧板上的固定结构提供固定力,防止运行中出现的扰度确保线束的正常运转,底部设计有斜度外凸结构,为避开运行中的干涉,避免出现断裂,大内部开档尺寸,充分利用空间,提升了安装效率。


