授权公布号:CN214823439U
一种铝单板输送装置
有效
申请
2021-06-19
申请公布
1970-01-01
授权
2021-11-23
预估到期
2031-06-19
| 申请号 | CN202121363975.2 |
| 申请日 | 2021-06-19 |
| 授权公布号 | CN214823439U |
| 授权公告日 | 2021-11-23 |
| 分类号 | B62B3/02;B62B3/04 |
| 分类 | 无轨陆用车辆; |
| 申请人名称 | 佛山市南海中霸装饰材料有限公司 |
| 申请人地址 | 广东省佛山市南海区里水镇逢涌南水路横一路7号之一(住所申报) |
专利法律状态
2021-11-23
授权
状态信息
授权
摘要
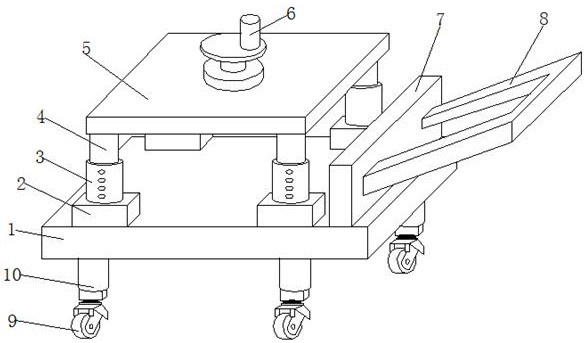
本实用新型提供一种铝单板输送装置,包括底板,所述底板的上表面固定连接有四个固定块,每个所述固定块的上表面均开设有卡槽,每个所述卡槽的内部均卡接有连通管,每个所述连通管的外表面均开设有等距离排列的卡孔,每个所述连通管的内部均卡接有支撑杆,所述支撑杆的外表面开设有通槽,所述通槽的内部卡接有卡块。该铝单板输送装置,通过设置固定块并在固定块的上表面开设卡槽,卡槽可以使连通管进行卡接,方便工作人员拆卸,通过连通管和支撑杆的配合,可以使支撑杆进行高度的调节,能对不同高度的铝单板进行阻挡,通过在加固板的底面设置插接块,可以使支撑杆与插接块相卡接,这样也方便了工作人员对加固板的拆卸。


