授权公布号:CN216614314U
一种具有污水回收功能的硅藻泥分离机
有效
申请
2021-12-07
申请公布
1970-01-01
授权
2022-05-27
预估到期
2031-12-07
| 申请号 | CN202123050764.6 |
| 申请日 | 2021-12-07 |
| 授权公布号 | CN216614314U |
| 授权公告日 | 2022-05-27 |
| 分类号 | C02F9/08 |
| 分类 | 水、废水、污水或污泥的处理; |
| 申请人名称 | 安徽梦成控股有限公司 |
| 申请人地址 | 安徽省合肥市庐阳区庐阳工业园洪河路梦成大厦 |
专利法律状态
2022-05-27
授权
状态信息
授权
摘要
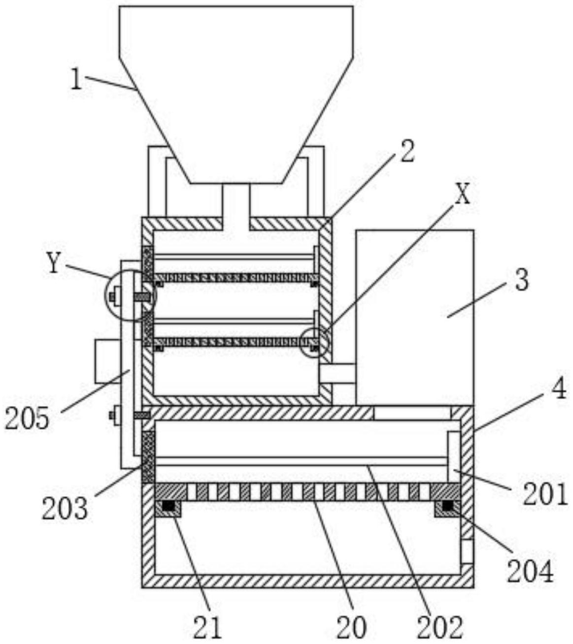
本申请涉及一种具有污水回收功能的硅藻泥分离机,其包括硅藻泥分离机本体,所述硅藻泥分离机本体的下端安装有第一过滤箱,所述第一过滤箱的右端连通有曝气箱,所述曝气箱与所述第一过滤箱的下端共同安装有第二过滤箱,且曝气箱与所述第二过滤箱之间安装有连通管道;本方案通过第一过滤箱可对污水进行初级过滤,初级过滤后的污水在曝气池中经过曝气处理后进入第二过滤箱,第二过滤箱可对污水进行再过滤,从而可实现增强对污水进行净化处理的效果,另外,经过多级过滤后的污水在进行沉淀处理时,沉淀净化的速率也会加快,从而提高对污水的回收处理效率。


