授权公布号:CN218227077U
一种具有碎屑回收功能的裁板机
有效
申请
2022-08-19
申请公布
1970-01-01
授权
2023-01-06
预估到期
2032-08-19
| 申请号 | CN202222192942.7 |
| 申请日 | 2022-08-19 |
| 授权公布号 | CN218227077U |
| 授权公告日 | 2023-01-06 |
| 分类号 | B27G3/00;B09B3/32;B09B101/85N |
| 分类 | 木材或类似材料的加工或保存;一般钉钉机或钉U形钉机; |
| 申请人名称 | 安徽梦成控股有限公司 |
| 申请人地址 | 安徽省合肥市庐阳区庐阳工业园洪河路梦成大厦 |
专利法律状态
2023-01-06
授权
状态信息
授权
摘要
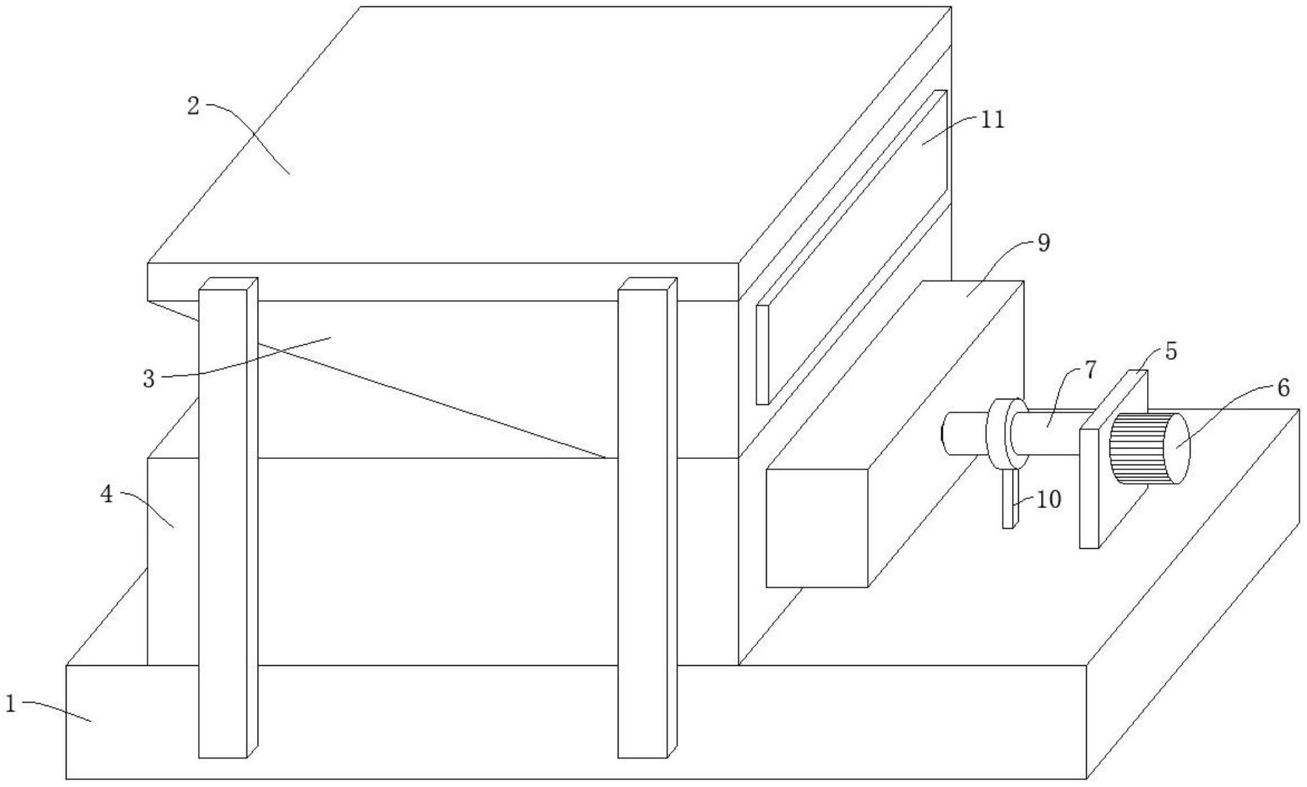
本申请涉及裁板机技术领域,且公开了一种具有碎屑回收功能的裁板机,本方案包括底板,所述底板的顶侧固定安装有裁板机本体,所述裁板机本体的底侧固定安装有卸料斗,本申请中通过设置压块,裁板机对板材切割时,大量的木屑会落入卸料斗内并落入集料箱内堆积,同时压块左右移动时,随着木屑的不断堆积增多压块可以将木屑进行挤压节省堆放空间,使得木屑之间堆积的更加紧实,从而可以收集更多的木屑减少工人对木屑的清理次数,达到了节约较多时间,提高工作效率的技术手段;通过设置横槽和横块,集料箱进行取放时,横槽和横块相配合,可以使集料箱保持水平移动,避免发生偏移,保证卸料斗的出料口与集料箱的进料口相对齐。


