授权公布号:CN210321083U
一种贝壳粉涂料生产用分层烘干机
有效
申请
2019-07-27
申请公布
1970-01-01
授权
2020-04-14
预估到期
2029-07-27
| 申请号 | CN201921194321.4 |
| 申请日 | 2019-07-27 |
| 授权公布号 | CN210321083U |
| 授权公告日 | 2020-04-14 |
| 分类号 | F26B20/00 |
| 分类 | 干燥; |
| 申请人名称 | 江苏海之屋新材料有限公司 |
| 申请人地址 | 江苏省南通市如皋市下原镇野树居9组 |
专利法律状态
2020-04-14
授权
状态信息
授权
摘要
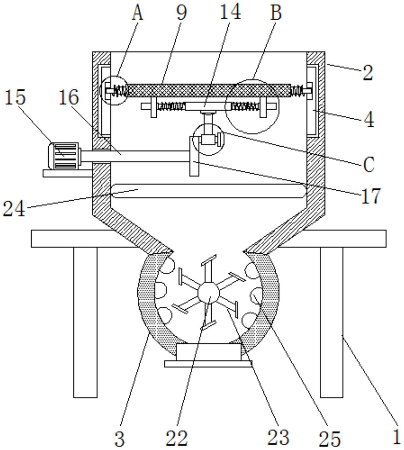
本实用新型涉及贝壳粉涂料生产技术领域,且公开了一种贝壳粉涂料生产用分层烘干机,包括两个支撑架,两个所述支撑架相对的一侧固定连接有烘干箱,所述烘干箱的底部连通有烘干筒,所述烘干箱的内部两侧均开设有限位滑槽,两个所述限位滑槽的内部均滑动连接有限位滑块,两个所述限位滑块相对的一侧均开设有卡槽,两个所述卡槽的内部均卡接有第一伸缩杆,两个所述第一伸缩杆的外表面均套设有第一弹簧。该贝壳粉涂料生产用分层烘干机,通过设置烘干箱,将贝壳粉涂料投放到烘干箱内的筛网上,筛网将贝壳粉涂料筛分后再经过第一加热棒落入到烘干筒内,经筛网筛分后的贝壳粉涂料与第一电加热棒接触的更充分,使得贝壳粉涂料受热均匀。


