授权公布号:CN216693675U
降低油烟温度和油烟净化处理装置
有效
申请
2021-12-23
申请公布
1970-01-01
授权
2022-06-07
预估到期
2031-12-23
| 申请号 | CN202123267982.5 |
| 申请日 | 2021-12-23 |
| 授权公布号 | CN216693675U |
| 授权公告日 | 2022-06-07 |
| 分类号 | F24C15/20;B01D5/00;B01D47/06 |
| 分类 | 供热;炉灶;通风; |
| 申请人名称 | 深圳世纪百利环保科技有限公司 |
| 申请人地址 | 广东省深圳市龙华新区观澜君龙社区君子布君新工业路6号厂房二楼A区 |
专利法律状态
2022-06-07
授权
状态信息
授权
摘要
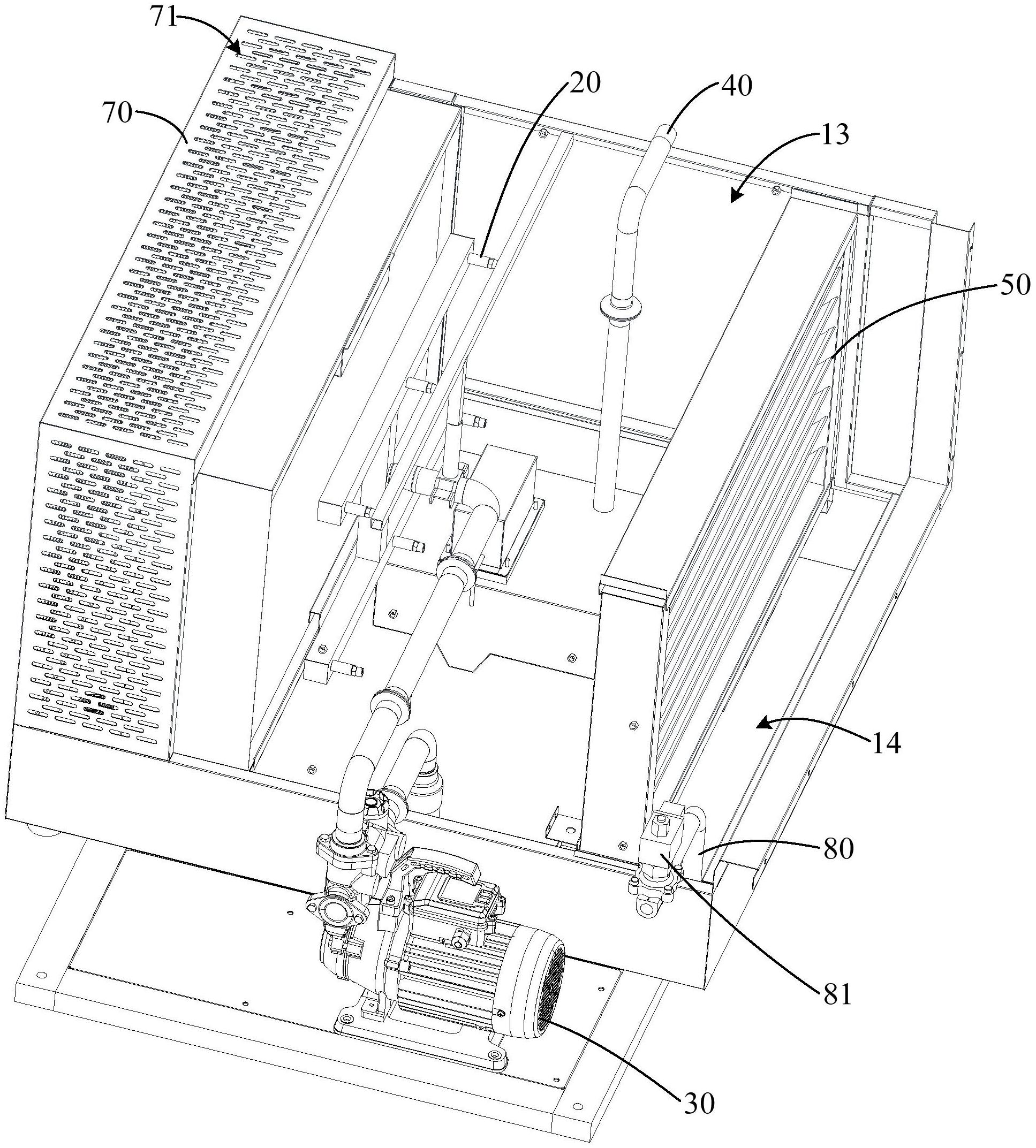
本实用新型公开一种降低油烟温度和油烟净化处理装置,包括:壳体,所述壳体设有进风口、出风口、处理腔和水槽,所述处理腔连通所述进风口与所述出风口,所述水槽位于所述处理腔的底部并贯通所述处理腔;雾化结构,安装于所述处理腔,用以将所述水槽内的液体雾化。本实用新型降低油烟温度和油烟净化处理装置可将处理腔与水槽结合,以简化降低油烟温度和油烟净化处理装置的内部结构,减小降低油烟温度和油烟净化处理装置的整体占用空间。此外,降低油烟温度和油烟净化处理装置的整体重心会偏向壳体的底部,从而可使降低油烟温度和油烟净化处理装置的安装状态更加稳定。


