授权公布号:CN211695054U
溢排水结构、油烟净化装置和厨灶系统
有效
申请
2019-12-09
申请公布
1970-01-01
授权
2020-10-16
预估到期
2029-12-09
| 申请号 | CN201922190201.3 |
| 申请日 | 2019-12-09 |
| 授权公布号 | CN211695054U |
| 授权公告日 | 2020-10-16 |
| 分类号 | F24C15/20 |
| 分类 | 供热;炉灶;通风; |
| 申请人名称 | 深圳世纪百利环保科技有限公司 |
| 申请人地址 | 广东省深圳市龙华新区观澜君龙社区君子布君新工业路6号厂房二楼A区 |
专利法律状态
2020-10-16
授权
状态信息
授权
摘要
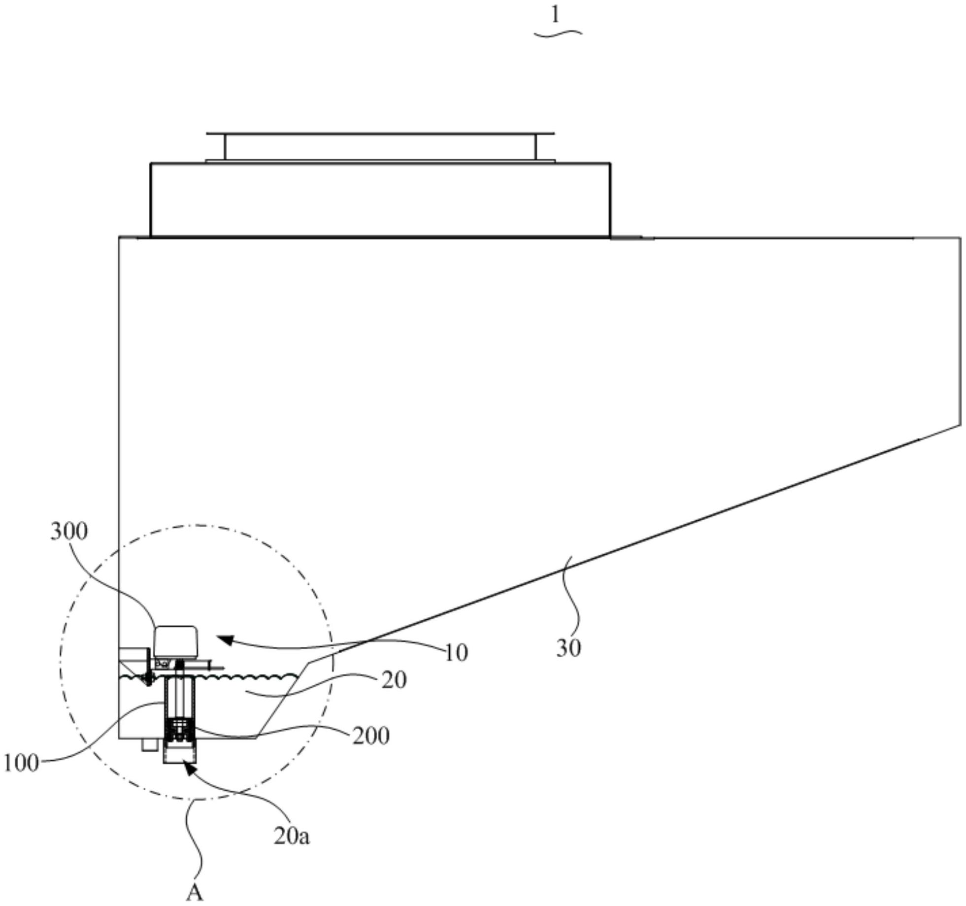
本实用新型公开一种溢排水结构、油烟净化装置和厨灶系统,本实用新型的溢排水结构应用于水箱,该水箱用于承载液体,并开设有连通水箱的排水口,溢排水结构的排水件连接水箱,并开设有用于溢流的溢流的口和用于排污的排污口,止挡件连接于排水件,并相对于排水件运动,与其形成第一位置和第二位置。本申请通过止挡件封堵或是打开排污口,同时实现水箱的溢流和排污功能,如此无需在水箱上开设专门的溢流口或是排污口,水箱的开孔数量减少,使得水箱的整体结构更为简单。


