授权公布号:CN109663367B
游乐设施虚拟体验试验装置
有效
申请
2019-01-11
申请公布
2019-04-23
授权
2020-11-03
预估到期
2039-01-11
| 申请号 | CN201910027980.7 |
| 申请日 | 2019-01-11 |
| 申请公布号 | CN109663367A |
| 申请公布日 | 2019-04-23 |
| 授权公布号 | CN109663367B |
| 授权公告日 | 2020-11-03 |
| 分类号 | A63G31/00 |
| 分类 | 运动;游戏;娱乐活动; |
| 申请人名称 | 华强方特文化科技集团股份有限公司 |
| 申请人地址 | 广东省深圳市南山区科技中一路西华强高新发展大楼1501-1506 |
专利法律状态
2020-11-03
授权
状态信息
授权
2019-05-17
实质审查的生效
状态信息
实质审查的生效
2019-04-23
公布
状态信息
公布
摘要
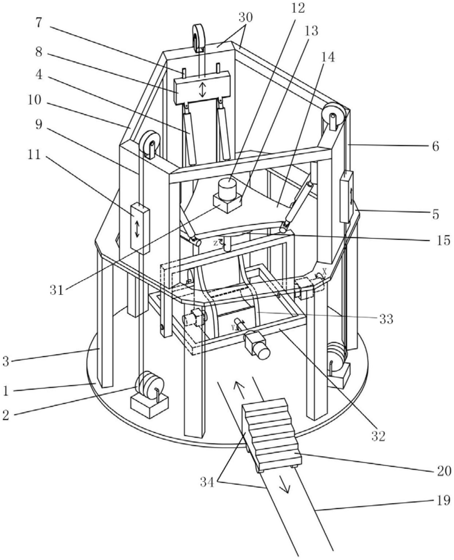
本发明公开了一种游乐设施虚拟体验试验装置,包括:基础底座、多向升降设备、悬挂平台、回转设备和旋转座舱设备;其中,基础底座上设置多向升降设备,悬挂平台悬挂设在多向升降设备的多向升降端,旋转座舱设备的顶部经回转设备与悬挂平台连接,悬挂设在悬挂平台的下面,多向升降设备能驱动悬挂平台和旋转座舱设备在基础底座上整体、单向或多向升降;回转设备能驱动旋转座舱设备在悬挂平台上回转运动;多向升降设备与回转设备能共同驱动使悬挂平台上的旋转座舱设备进行多自由度运动。该装置具有多个多自由度,能模拟多种游乐设施的运动,实现虚拟体验、人体生理参数试验、体验参数与效果的检测。


