授权公布号:CN217760740U
一种新型带电动启闭器的防火窗
有效
申请
2021-03-26
申请公布
1970-01-01
授权
2022-11-08
预估到期
2031-03-26
| 申请号 | CN202120623012.5 |
| 申请日 | 2021-03-26 |
| 授权公布号 | CN217760740U |
| 授权公告日 | 2022-11-08 |
| 分类号 | E06B5/16;E06B3/663;E06B1/36;E06B3/06;E06B3/30;E05F15/77 |
| 分类 | 一般门、窗、百叶窗或卷辊遮帘;梯子; |
| 申请人名称 | 鹤山市博安防火玻璃科技有限公司 |
| 申请人地址 | 广东省江门市鹤山市龙口镇江肇公路龙口段20号之三 |
专利法律状态
2022-11-08
授权
状态信息
授权
摘要
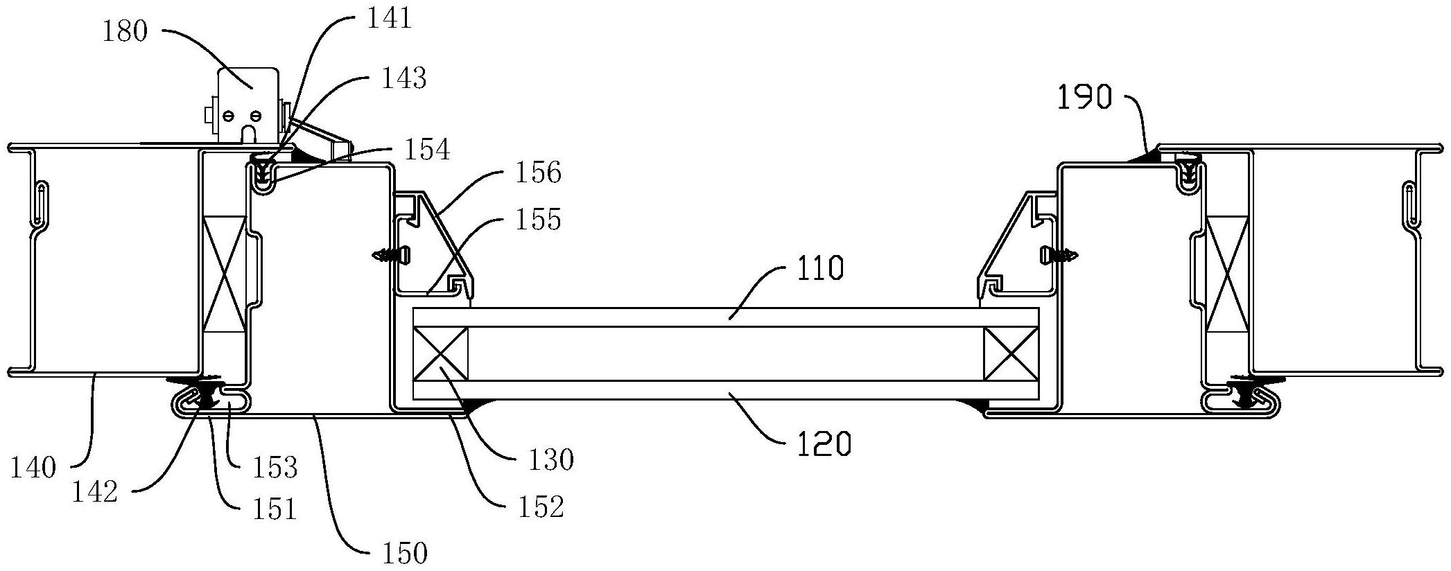
本实用新型公开了一种新型带电动启闭器的防火窗,包括:窗扇组件,包括第一玻璃面和第二玻璃面,第一玻璃面为防火玻璃,玻璃面之间为中空,第一玻璃面与第二玻璃面的边缘连接且连接处有防火层;主窗体,由第一型材件围成,窗扇组件通过第二型材件与主窗体连接,第一型材件上设有第一抵压板、第一钩件以及第二钩件,第一抵压板上设有第二钩件,第二型材件上设有第二抵压板、第三抵压板、第一扣位以及第二扣位,第一扣位设置于第二抵压板上,第三抵压板与第二抵压板朝向相反且两者位于同一直线上;第二型材件上还设有用于与第三抵压板配合紧固窗扇组件的固定组件。通过各组件之间的连接关系,减小各组件之间的缝隙大小,实现窗扇组件的紧固。


