授权公布号:CN206667829U
一种组合式方形桑拿房
有效
申请
2017-04-17
申请公布
1970-01-01
授权
2017-11-24
预估到期
2027-04-17
| 申请号 | CN201720397025.9 |
| 申请日 | 2017-04-17 |
| 授权公布号 | CN206667829U |
| 授权公告日 | 2017-11-24 |
| 分类号 | E04H1/12;A61N5/06 |
| 分类 | 建筑物; |
| 申请人名称 | 徐州凯迪桑拿设备有限公司 |
| 申请人地址 | 江苏省徐州市沛县张庄镇工业园三路北侧 |
专利法律状态
2017-11-24
授权
状态信息
授权
摘要
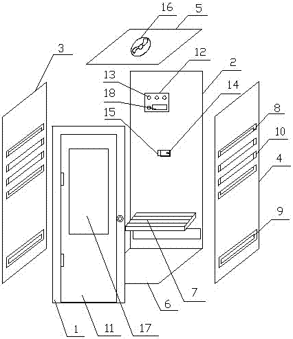
本实用新型公开了一种组合式方形桑拿房,包括桑拿房本体,所述桑拿房本体由前墙板、后墙板、左墙板、右墙板、顶板和底板组成的木制箱形结构,所述前墙板上设有进出门,所述后墙板上设有座椅,所述后墙板、左墙板、右墙板为夹层结构,左墙板、右墙板的夹层内部上方设有远红外线加热板,后墙板、左墙板、右墙板夹层内部下方设有加热管,内侧木板上设有格栅,所述后墙板上方设有温度控制面板,温度控制面板上设有至少两个控制旋钮,所述温度控制面板下方设有出气窗口,所述出气窗口内侧设有活动封板,所述顶板上设有排气扇,本实用新型两组加热装置供热,升温快,温度足够高,热量分布均匀,兼顾了舒适度与理疗效果,安全性高。


