授权公布号:CN217350057U
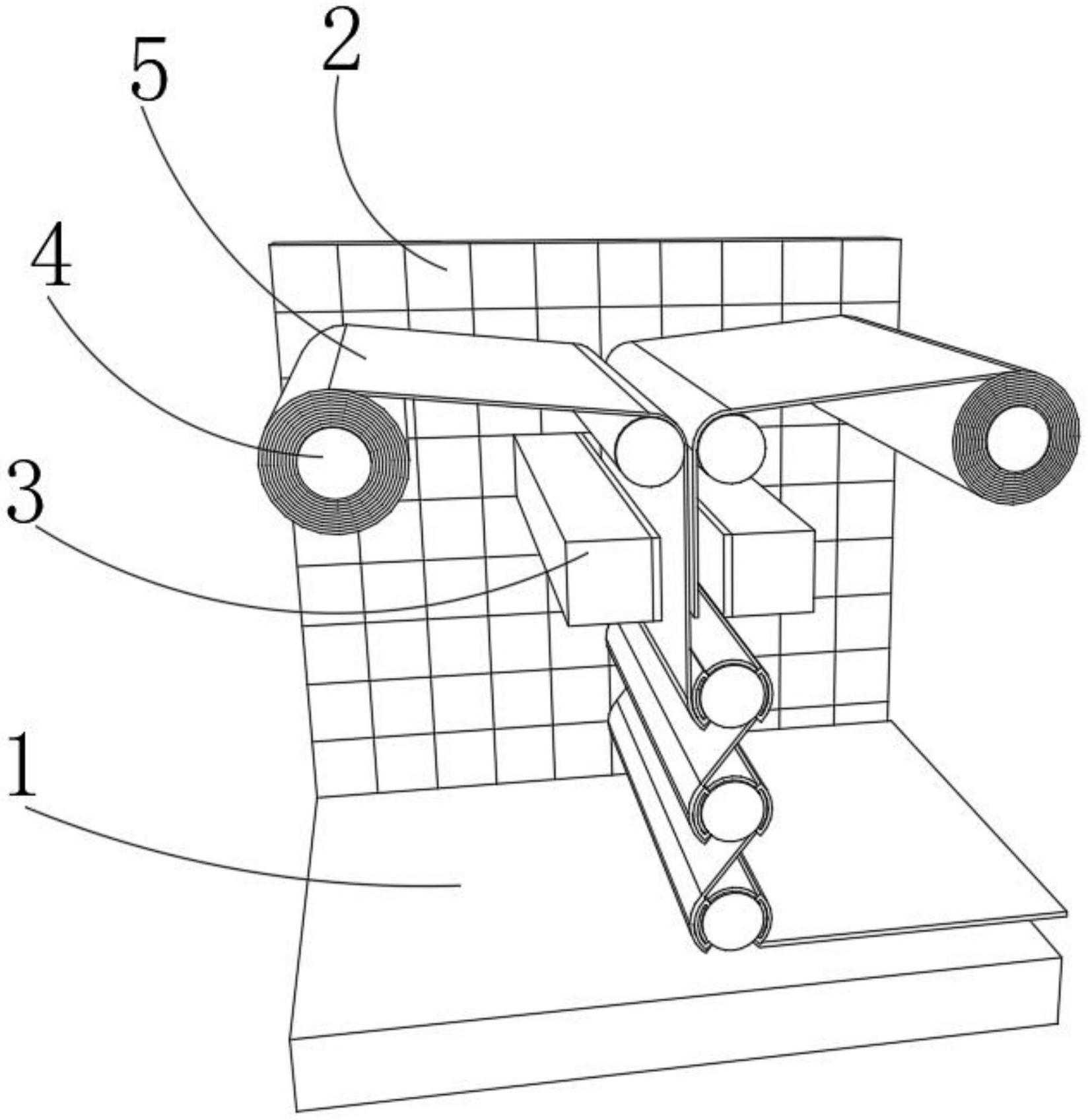
纸板膜包一体机自动接膜机构
有效
申请
2022-02-25
申请公布
1970-01-01
授权
2022-09-02
预估到期
2032-02-25
| 申请号 | CN202220393748.2 |
| 申请日 | 2022-02-25 |
| 授权公布号 | CN217350057U |
| 授权公告日 | 2022-09-02 |
| 分类号 | B65H19/18 |
| 分类 | 输送;包装;贮存;搬运薄的或细丝状材料; |
| 申请人名称 | 北京永创通达机械设备有限公司 |
| 申请人地址 | 北京市大兴区西红门兴创国际中心3A座1903室 |
专利法律状态
2022-09-02
授权
状态信息
授权
摘要
本实用新型提供纸板膜包一体机自动接膜机构,纸板膜包一体机自动接膜机构包括侧壁以及接膜组件,接膜组件设于侧壁一侧,机架一侧开设有凹槽,且机架一侧与伸缩柱相连接,伸缩柱一端设有电热板,且电热板与伸缩柱固定连接。本实用新型通过启动接膜组件,使伸缩柱向内施压,并通过电热板的加热,使第一卷膜与第二卷膜热接,从而完成接膜,接膜过程中,接膜组件下方的第一缓冲轴、第二缓冲轴以及第三缓冲轴分别通过连接的电动机进行转动,从而释放部分缠绕在第一缓冲架、第二缓冲架以及第三缓冲架侧表面的卷膜,以避免卷膜在热接时被后续的生产设备拉断,一定程度上也提高了设备的安全性,并达到了无需停机便可接膜的效果。


