授权公布号:CN217346363U
自动加泡沫泡沫机设备
有效
申请
2022-02-25
申请公布
1970-01-01
授权
2022-09-02
预估到期
2032-02-25
| 申请号 | CN202220393746.3 |
| 申请日 | 2022-02-25 |
| 授权公布号 | CN217346363U |
| 授权公告日 | 2022-09-02 |
| 分类号 | B29C44/34;B29C31/02;B29C31/04 |
| 分类 | 塑料的加工;一般处于塑性状态物质的加工; |
| 申请人名称 | 北京永创通达机械设备有限公司 |
| 申请人地址 | 北京市大兴区西红门兴创国际中心3A座1903室 |
专利法律状态
2022-09-02
授权
状态信息
授权
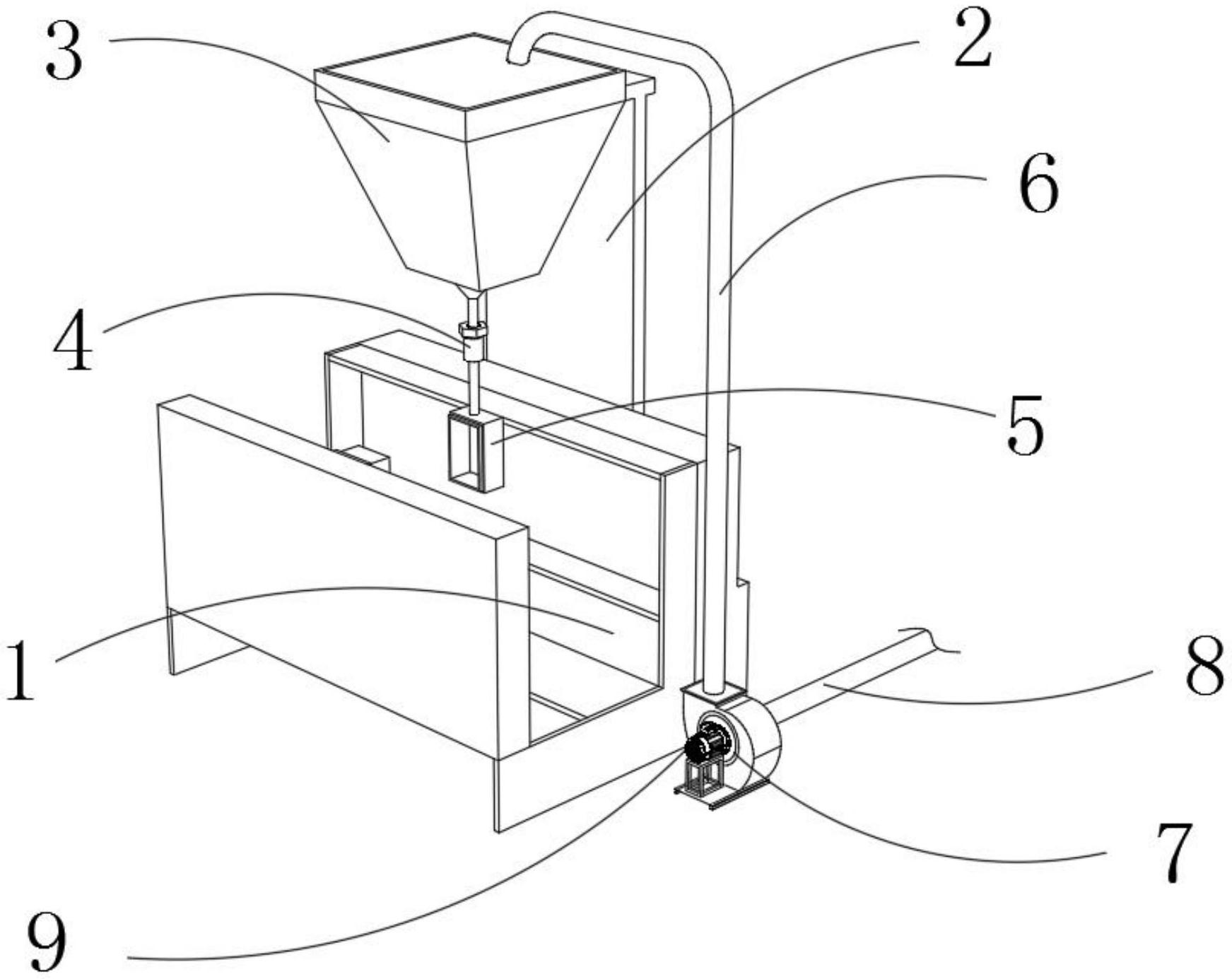
摘要
本实用新型提供自动加泡沫泡沫机设备。所述自动加泡沫泡沫机设备包括设备平台、加料装置、存料斗以及搅拌装置,设备平台一侧设置有加料装置,加料装置包括输料管、抽料泵以及抽料管,设备平台背面固定连接有固定板,固定板上端一侧固定连接有存料斗,存料斗内部设置有搅拌装置。本实用新型,通过设置有加料装置,存料斗内部的泡沫材料高度低于高度传感器时,高度传感器发出材料不足的信号,高度传感器发出材料不足的信号至处理器,处理器将控制抽料泵启动进行加料的信号发送至信号接收器,抽料泵收到信号启动,抽料泵通过抽料管抽取泡沫材料,经过输料管进入存料斗实现自动上料,有效的提高了生产效率,有效的降低了生产成本。


