授权公布号:CN212244599U
一种多功能保存干细胞的设备
有效
申请
2020-03-12
申请公布
1970-01-01
授权
2020-12-29
预估到期
2030-03-12
| 申请号 | CN202020305153.8 |
| 申请日 | 2020-03-12 |
| 授权公布号 | CN212244599U |
| 授权公告日 | 2020-12-29 |
| 分类号 | B65D81/20;B65D25/10 |
| 分类 | 输送;包装;贮存;搬运薄的或细丝状材料; |
| 申请人名称 | 北京泓信干细胞生物技术有限公司 |
| 申请人地址 | 北京市延庆区经济技术开发区经海四路156号院3号楼2层 |
专利法律状态
2020-12-29
授权
状态信息
授权
摘要
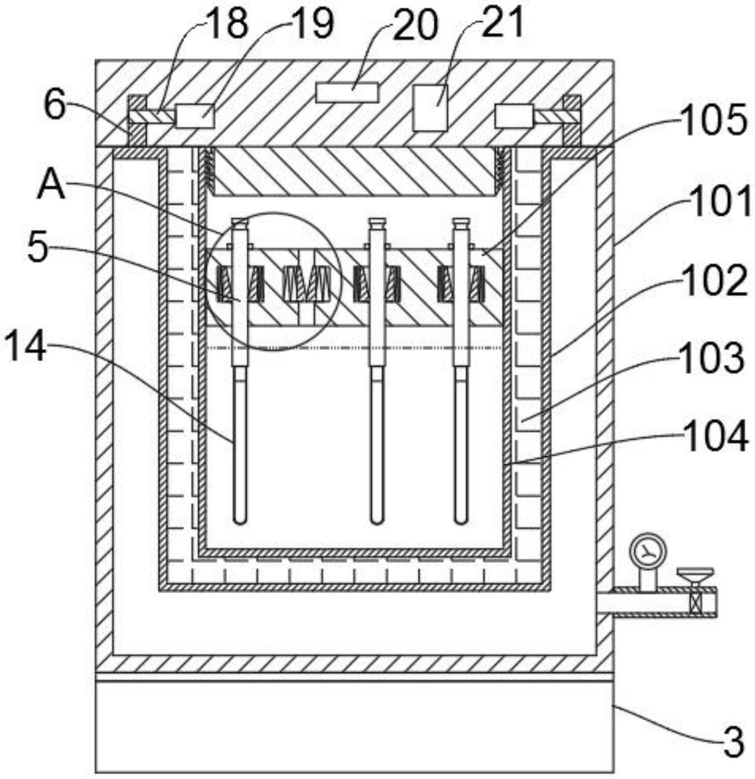
本实用新型公开了一种多功能保存干细胞的设备,包括桶体和桶盖,所述桶盖盖装在桶体上部并通过扣件进行固定,所述桶体包括外壳体和内壳体,内壳体设置在外壳体的内部,在内壳体的外部依次设有保温层与真空隔热层,在内壳体的内部水平固定有密封板,所述密封板与内壳体的下侧内壁围成储存室,在储存室内装有足量液氮,在密封板的表面贯穿设置有多个插孔,在插孔处插装有插杆,在插孔的内侧壁上设有能够封闭储存室与外部连通的密封组件,所述插杆的下端通过柱塞与样本试管连接,样本试管能够顶开密封组件插入储存室并没入液氮中,本实用新型在取拿样品或添加液氮时,能够减少液氮与外部的接触,减少挥发,降低保存成本。


