授权公布号:CN214830337U
一种间充质干细胞表面标志物检测试剂盒
有效
申请
2020-12-07
申请公布
1970-01-01
授权
2021-11-23
预估到期
2030-12-07
| 申请号 | CN202022909657.3 |
| 申请日 | 2020-12-07 |
| 授权公布号 | CN214830337U |
| 授权公告日 | 2021-11-23 |
| 分类号 | C12M1/34;C12M1/24;C12M1/12;C12M1/04;C12M1/00;B65D25/10 |
| 分类 | 生物化学;啤酒;烈性酒;果汁酒;醋;微生物学;酶学;突变或遗传工程; |
| 申请人名称 | 北京泓信干细胞生物技术有限公司 |
| 申请人地址 | 北京市大兴区北京经济技术开发区经海四路156号院3号楼2层201房间 |
专利法律状态
2021-11-23
授权
状态信息
授权
摘要
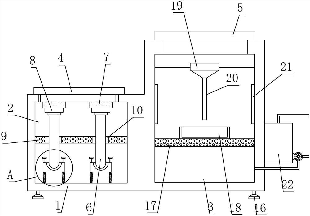
一种间充质干细胞表面标志物检测试剂盒,包括试剂盒本体;试剂盒本体内设有储存室;弹簧套设在固定杆上并连接承载座和试剂盒本体;试剂管上设有密封盖,第一盖板压住密封盖,试剂管的底端压住承载座;试剂盒本体内设有检测室;检测室内设置第二网格板和杀菌灯,且第二网格板上设有检测盒;漏斗设置在检测室内,且漏斗的底部设置输送管;连接箱内设有过滤网和活性炭吸附网,连接箱的底部设有进风口;鼓风机上设有连接管和送风管,且连接管与连接箱连通,送风管与检测室连通。本实用新型操作简单,功能多样,不仅能够对试剂管进行有效固定和储存,还能够进行检测操作并有效防止细菌对检测结果带来不利影响,具有实用性。


