授权公布号:CN211050147U
一种细胞抗衰剥离激活器
有效
申请
2019-08-30
申请公布
1970-01-01
授权
2020-07-21
预估到期
2029-08-30
| 申请号 | CN201921432836.3 |
| 申请日 | 2019-08-30 |
| 授权公布号 | CN211050147U |
| 授权公告日 | 2020-07-21 |
| 分类号 | A61H15/00 |
| 分类 | 医学或兽医学;卫生学; |
| 申请人名称 | 华夏源细胞工程集团股份有限公司 |
| 申请人地址 | 上海市闵行区联航路1188号23幢4楼 |
专利法律状态
2021-12-17
专利申请权、专利权的转移
状态信息
专利权的转移;IPC(主分类):A61H 15/00;专利号:ZL2019214328363;登记生效日:20211207;变更事项:专利权人;变更前权利人:华夏源细胞工程集团股份有限公司;变更后权利人:华夏源(上海)生物科技有限公司;变更事项:地址;变更前权利人:201112 上海市闵行区联航路1188号23幢2层a3单元;变更后权利人:201100 上海市闵行区联航路1188号23幢4楼
2020-07-21
授权
状态信息
授权
摘要
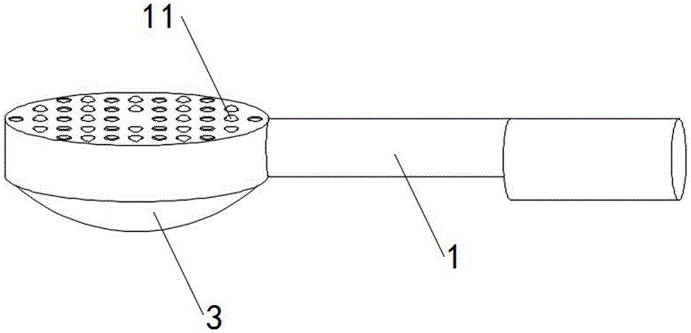
本实用新型提供了一种细胞抗衰剥离激活器,属于细胞抗衰技术领域,包括:激活器本体,激活器本体一端切入设有蓄电池,激活器本体另一端底部固定设有保护壳,保护壳内部切入设有微型电机,微型电机轴端固定连接有驱动块,驱动块表面开口设有凹槽,且凹槽底部设有凸块,保护壳上表面开口设有活动槽,活动槽内壁固定设有挡块。该种细胞抗衰剥离激活器,其能够提高按摩器的按摩效果。


