授权公布号:CN216711321U
一种轿内打开式装潢吊顶
有效
申请
2021-11-29
申请公布
1970-01-01
授权
2022-06-10
预估到期
2031-11-29
| 申请号 | CN202122961754.1 |
| 申请日 | 2021-11-29 |
| 授权公布号 | CN216711321U |
| 授权公告日 | 2022-06-10 |
| 分类号 | B66B11/02 |
| 分类 | 卷扬;提升;牵引; |
| 申请人名称 | 巨立电梯股份有限公司 |
| 申请人地址 | 江苏省苏州市昆山市巴城镇正仪工商区312国道北侧 |
专利法律状态
2022-06-10
授权
状态信息
授权
摘要
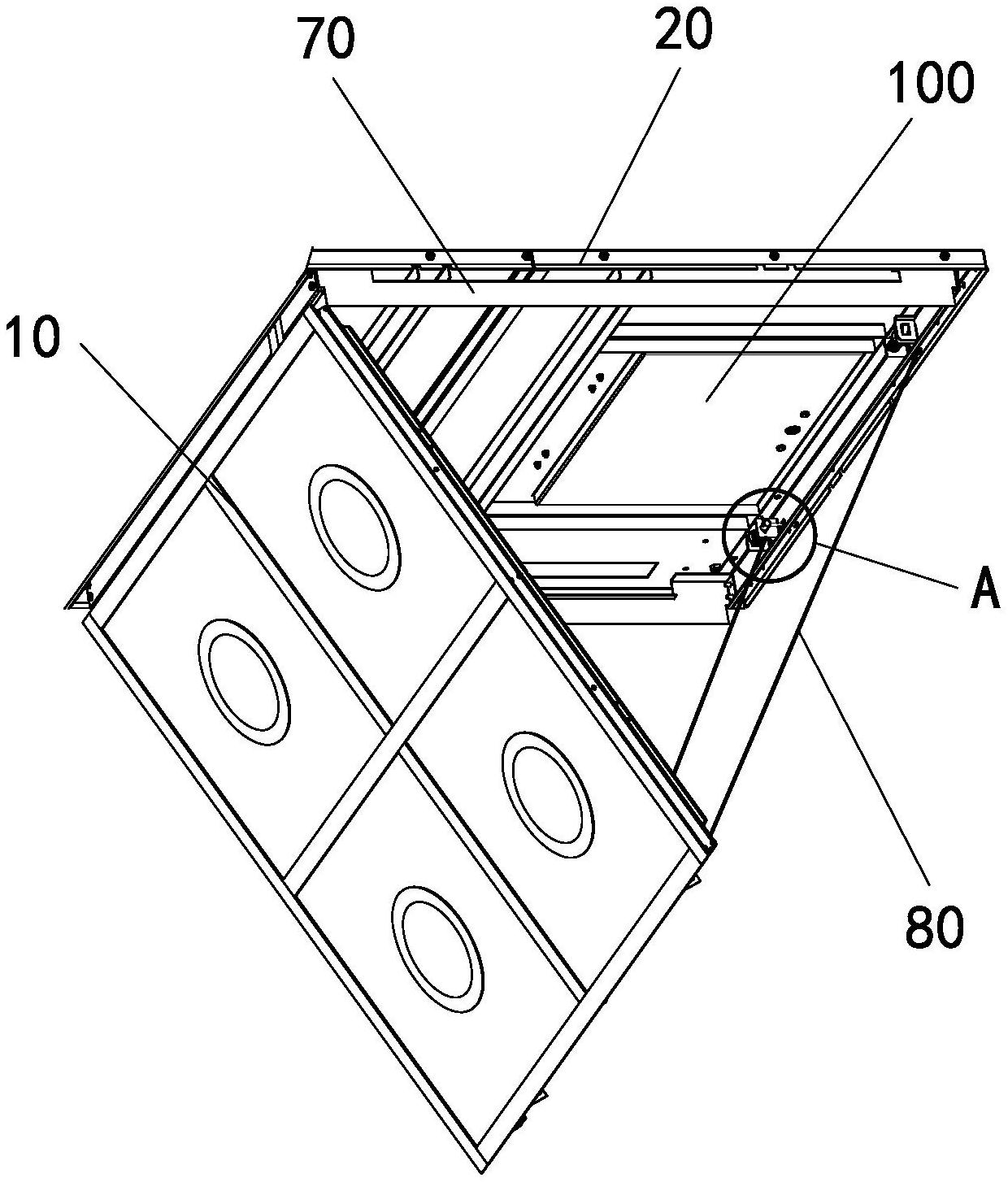
本实用新型公开了一种轿内打开式装潢吊顶,包括装饰面板和骨架,骨架固定于轿厢顶部的龙骨上,骨架中具有安装孔位,装饰面板安装于对应的安装孔位中;装饰面板的一侧通过合页与骨架连接,另一侧通过锁扣机构与骨架连接锁扣机构包括安装于装饰面板内侧的固定块,以及安装于骨架上的弹性插销,弹性插销的锁舌插入固定块的插孔内将装饰面板固定于骨架上;骨架上安装有支架,弹性插销的端部轴杆滑接于支架上,骨架上设置有条形孔,弹性插销的拨杆穿过条形孔延伸至骨架的外部。推动拨杆使弹性插销平移退出固定块的插孔即可快速地解开装饰面板一侧与骨架的连接,装饰面板绕合页向下翻转打开,避免了吊顶直接掉落。


