授权公布号:CN102672718B
一键锁紧被动式七自由度机械臂
有效
申请
2012-05-03
申请公布
2012-09-19
授权
2014-12-10
预估到期
2032-05-03
| 申请号 | CN201210135133.0 |
| 申请日 | 2012-05-03 |
| 申请公布号 | CN102672718A |
| 申请公布日 | 2012-09-19 |
| 授权公布号 | CN102672718B |
| 授权公告日 | 2014-12-10 |
| 分类号 | B25J11/00;B25J15/08;B25J17/02;B25J18/00;A61B19/00 |
| 分类 | 手动工具;轻便机动工具;手动器械的手柄;车间设备;机械手; |
| 申请人名称 | 上海盛蒂斯自动化设备股份有限公司 |
| 申请人地址 | 上海市松江区松闵路258号3幢1-6层 |
专利法律状态
2016-11-02
专利权人的姓名或者名称、地址的变更
状态信息
专利权人的姓名或者名称、地址的变更;IPC(主分类):B25J11/00;变更事项:专利权人;变更前:上海盛蒂斯自动化设备有限公司;变更后:上海盛蒂斯自动化设备股份有限公司;变更事项:地址;变更前:201605 上海市松江区新浜镇黄家埭村新中路28号;变更后:201611 上海市松江区松闵路258号3幢1-6层
2016-03-02
专利申请权、专利权的转移
状态信息
专利权的转移;IPC(主分类):B25J11/00;登记生效日:20160205;变更事项:专利权人;变更前:上海交通大学;变更后:上海盛蒂斯自动化设备有限公司;变更事项:地址;变更前:200240 上海市闵行区东川路800号;变更后:201605 上海市松江区新浜镇黄家埭村新中路28号
2016-03-02
著录事项变更
状态信息
著录事项变更;IPC(主分类):B25J11/00;变更事项:发明人;变更前:蔡俊 薛松 高雪官;变更后:樊利平
2014-12-10
授权
状态信息
授权
2012-11-14
实质审查的生效
状态信息
实质审查的生效;IPC(主分类):B25J11/00;申请日:20120503
2012-09-19
公布
状态信息
公布
摘要
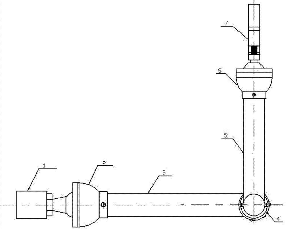
一种一键锁紧被动式七自由度机械臂,包括:电磁座、下球副、下挺杆机构、一键锁紧机构、上挺杆机构、上球副、末端夹持机构。电磁座由磁力固定于手术台侧,下球副中的钢球焊接于螺柱上通过螺纹连接与电磁座固定形成底座,下挺杆与下钢球通过下球副罩连接,下挺杆和上挺杆分别与一键锁紧机构中的两个对应圆锥凸轮外沿相切,上挺杆通过上球副罩与上球副中的钢球连接,钢球末端通过螺栓上的螺纹连接末端夹持机构。本发明采用圆锥凸轮旋钮,依靠人力一键锁紧,完全依靠机械机构实现,能承受一定的负载,具有良好的通用性,并且保证较高的灵活度和完全被动性和简洁性,不会因操作复杂、可靠性差而影响辅助医疗的效果和质量。


