授权公布号:CN214444109U
一种水槽焊缝装置
有效
申请
2021-03-29
申请公布
1970-01-01
授权
2021-10-22
预估到期
2031-03-29
| 申请号 | CN202120626740.1 |
| 申请日 | 2021-03-29 |
| 授权公布号 | CN214444109U |
| 授权公告日 | 2021-10-22 |
| 分类号 | B23K37/02;B23K37/00 |
| 分类 | 机床;不包含在其他类目中的金属加工; |
| 申请人名称 | 宁波卡利亚厨卫科技有限公司 |
| 申请人地址 | 浙江省宁波市镇海区蛟川街道金元路598号 |
专利法律状态
2023-11-10
专利权质押合同登记的生效、变更及注销
状态信息
专利权质押合同登记的生效;IPC(主分类):B23K 37/02;专利号:ZL2021206267401;登记号:Y2023980062592;登记生效日:20231025;出质人:宁波卡利亚厨卫科技有限公司;质权人:宁波镇海农村商业银行股份有限公司开发区支行;实用新型名称:一种水槽焊缝装置;申请日:20210329;授权公告日:20211022
2021-10-22
授权
状态信息
授权
摘要
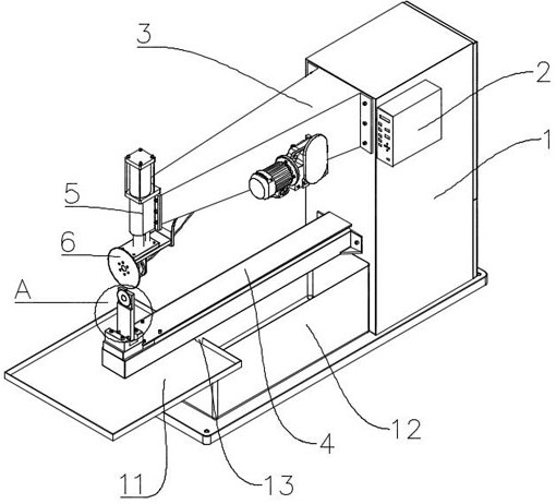
本实用新型公开了一种水槽焊缝装置,包括配电箱,焊接台面以及焊接滚轮,焊接滚轮设置于焊接台面上,焊接台面包括第一台面与第二台面,焊接滚轮包括第一滚轮与第二滚轮,第一滚轮设置于第一台面上,第一台面上设置有滚轮座,滚轮座上设有第二滚轮,滚轮座上同时设置有用于拆卸第二滚轮的锁紧件,第二台面下方设有接水盘,避免了水槽换边时移动水槽的繁琐手续,只需将滚轮取下重新换边安装即可,极大提高了焊接效率。


