授权公布号:CN208558004U
一种用于工业防水卷材生产的物料筛选装置
有效
申请
2018-07-17
申请公布
1970-01-01
授权
2019-03-01
预估到期
2028-07-17
| 申请号 | CN201821132690.6 |
| 申请日 | 2018-07-17 |
| 授权公布号 | CN208558004U |
| 授权公告日 | 2019-03-01 |
| 分类号 | B29B13/10 |
| 分类 | 塑料的加工;一般处于塑性状态物质的加工; |
| 申请人名称 | 潍坊天元防水材料股份有限公司 |
| 申请人地址 | 山东省潍坊市寿光市台头镇付家庄村 |
专利法律状态
2019-03-01
授权
状态信息
授权
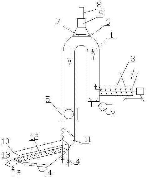
摘要
本实用新型提供了用于工业防水卷材生产的物料筛选装置,包括U形分离器,所述U形分离器内部为中空结构,所述U形分离器额U形开口朝下设置,所述U形分离器的其中一个端部接有鼓风机,设有鼓风机的端部还接有绞龙送料器,所述U形分离器的另一个端部接有负电荷发生器。本实用新型具有可以将橡胶远离中的粉末渣筛出,同时也可将金属铁、砂石颗粒等清除,结构简单,使用方便,清除杂质效果好。


