授权公布号:CN208938230U
一种自动售货柜的光栅固定装置
有效
申请
2018-12-05
申请公布
1970-01-01
授权
2019-06-04
预估到期
2028-12-05
| 申请号 | CN201822036355.2 |
| 申请日 | 2018-12-05 |
| 授权公布号 | CN208938230U |
| 授权公告日 | 2019-06-04 |
| 分类号 | G07F11/00;G02B7/00 |
| 分类 | 核算装置; |
| 申请人名称 | 河南香雪海家电科技有限公司 |
| 申请人地址 | 河南省商丘市民权县产业集聚区 |
专利法律状态
2019-06-04
授权
状态信息
授权
摘要
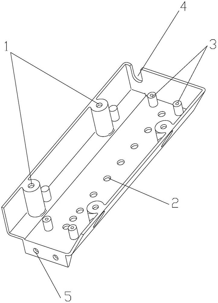
本实用新型公开了一种自动售货柜的光栅固定装置,包括:凹槽型主体,用于容纳由若干LED灯和电路板组成的光栅;所述凹槽型主体的底部平面上设置有若干通光孔和若干固定立柱,所述LED灯通过所述通光孔从所述凹槽型主体的内部暴露出来,所述固定立柱用于固定所述电路板;所述凹槽型主体的侧壁上还设置有进线孔和第一安装孔,所述进线孔用于所述电路板线路的通行,所述第一安装孔用于所述凹槽型主体的固定。上述自动售货柜的光栅固定装置中,所述凹槽型主体可对所述光栅形成整体性包裹,同时其内部还设置有若干固定立柱,可以对电路板进行固定,因此使得光栅在自动售货柜的移动过程中不易松动失灵以及防止掉货时砸坏光栅电路板。


