授权公布号:CN212879063U
一种具有防潮功能的一体化卫浴挂架
有效
申请
2020-05-29
申请公布
1970-01-01
授权
2021-04-06
预估到期
2030-05-29
| 申请号 | CN202020948658.6 |
| 申请日 | 2020-05-29 |
| 授权公布号 | CN212879063U |
| 授权公告日 | 2021-04-06 |
| 分类号 | A47K1/02 |
| 分类 | 家具;家庭用的物品或设备;咖啡磨;香料磨;一般吸尘器; |
| 申请人名称 | 佛山市安美捷轻钢房屋有限公司 |
| 申请人地址 | 广东省佛山市南海区里水镇和桂工业园侧高村工业区(梁炳林厂房2号) |
专利法律状态
2021-04-06
授权
状态信息
授权
摘要
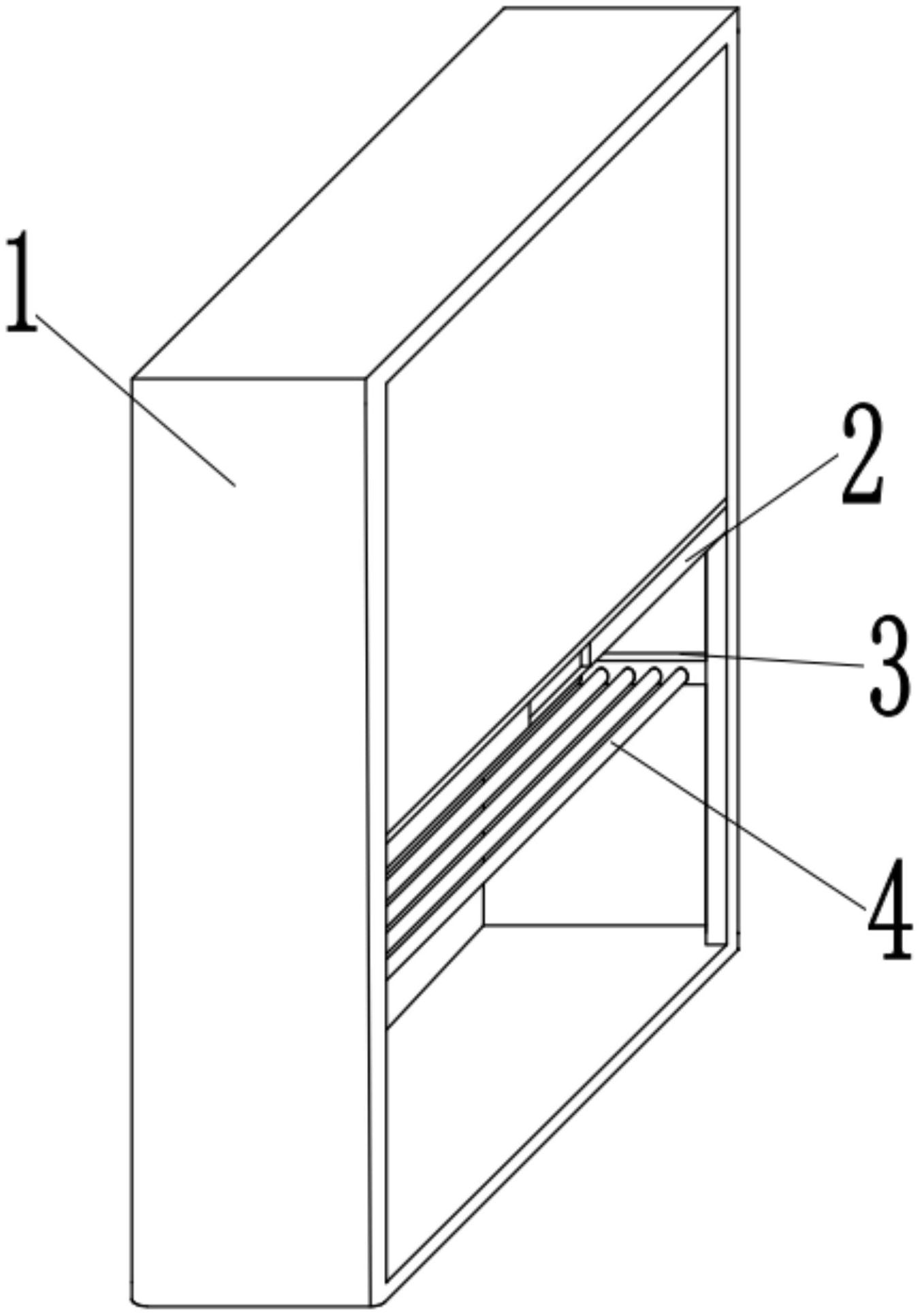
本实用新型公开了一种具有防潮功能的一体化卫浴挂架,包括外壳,外壳的两侧内壁均开有滑动槽,两个滑动槽的内部均滑动连接有轴承,两个轴承之间设置有连接横杆,外壳的顶部内壁设置有固定轴,固定轴的两端分别与外壳通过螺栓连接,固定轴的外部套接有卷簧,固定轴的外部转动连接有阻尼套。本实用新型能够很好的对帆布进行收卷,在使用的过程中避免帆布占用空间,同时帆布的设置能够避免使用者在进行卫浴时导致卫浴架内的物品受潮,具有很好的防潮效果。


