授权公布号:CN212026956U
金属复合板暗卡离缝安装结构
有效
申请
2019-12-29
申请公布
1970-01-01
授权
2020-11-27
预估到期
2029-12-29
| 申请号 | CN201922415155.2 |
| 申请日 | 2019-12-29 |
| 授权公布号 | CN212026956U |
| 授权公告日 | 2020-11-27 |
| 分类号 | E04F13/22 |
| 分类 | 建筑物; |
| 申请人名称 | 上海西蒙铝业有限公司 |
| 申请人地址 | 上海市松江区车墩镇泖亭路316号 |
专利法律状态
2020-11-27
授权
状态信息
授权
摘要
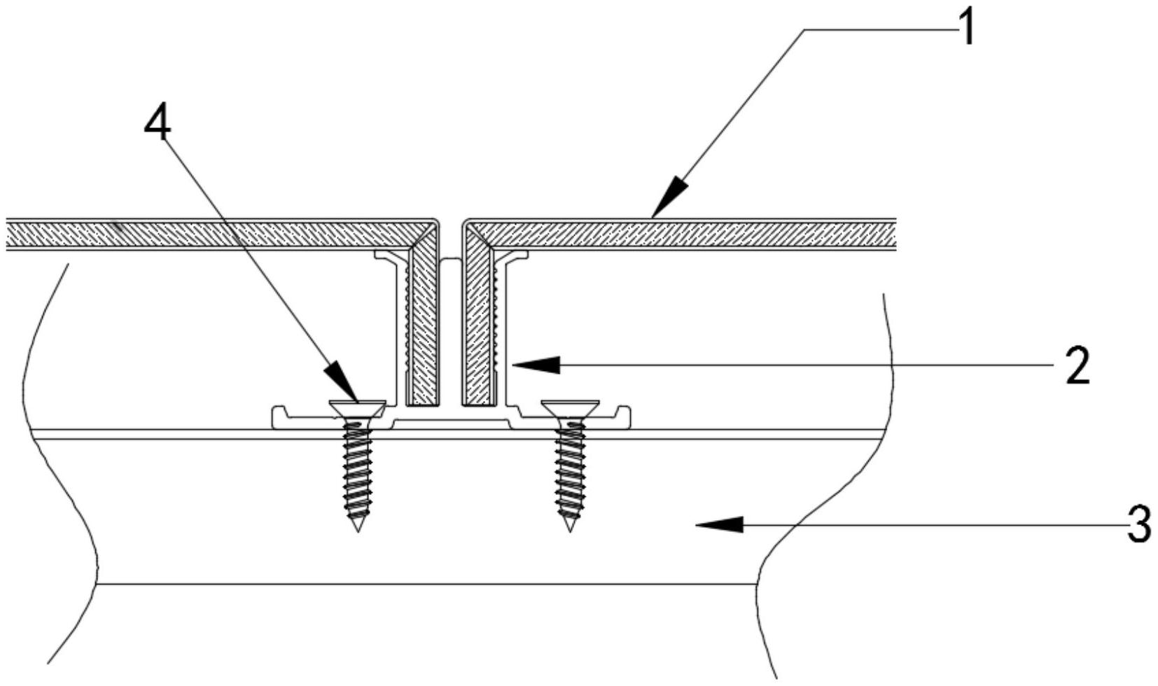
本实用新型提供了金属复合板暗卡离缝安装结构,包括龙骨,所述龙骨上安装有金属复合板,所述金属复合板通过龙骨安装在基层上;所述龙骨包括两个相向设置的L形结构,所述两个相向设置的L形结构通过连接板连接,所述连接板内垂直设有隔板,所述隔板一侧至L形结构内壁的间距略大于金属复合板的厚度。本实用新型通过采用结构稳定的两个相向设置的L形结构作为主体,在连接两个L形结构的连接板上增加了隔板,使L形的金属复合板有一段插接在铝型材龙骨中,使金属复合板的结构更加稳定,且本实用新型结构简单,造价降低,牢固性、稳定性能高。


