授权公布号:CN212478373U
金属复合板阳角收口结构
有效
申请
2019-12-29
申请公布
1970-01-01
授权
2021-02-05
预估到期
2029-12-29
| 申请号 | CN201922415154.8 |
| 申请日 | 2019-12-29 |
| 授权公布号 | CN212478373U |
| 授权公告日 | 2021-02-05 |
| 分类号 | E04F13/22; |
| 分类 | 建筑物; |
| 申请人名称 | 上海西蒙铝业有限公司 |
| 申请人地址 | 上海市松江区车墩镇泖亭路316号 |
专利法律状态
2021-02-05
授权
状态信息
授权
摘要
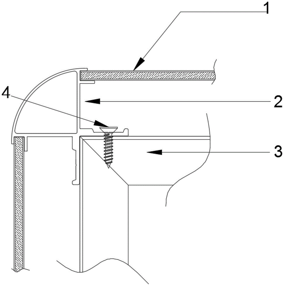
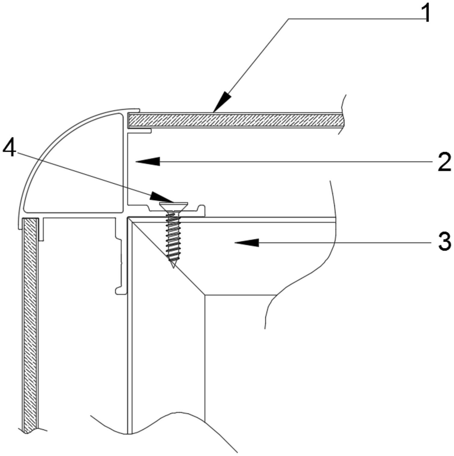
本实用新型提供了金属复合板阳角收口结构,包括龙骨,龙骨上安装有金属复合板,金属复合板通过龙骨安装在基层上;龙骨包括两组L形结构,L形结构包括竖直段和水平段,竖直段连接水平段形成直角,两组L形结构的直角对角连接呈十字且一体成型,两组L形结构的水平段分别设置在基层转角外两侧的水平面和竖直面上;两组L形结构的竖直段的端部均设有F形结构且通过弧形结构连接,F形结构内安装金属复合板。本实用新型采用的龙骨为两组L形结构,两组L形结构的直角对角连接且一体成型,并在L形结构竖直段端部增加F形结构;且两组L形结构端部的F形结构通过弧形结构连接,使金属复合板的结构更加稳定,且结构简单,造价低,牢固性、稳定性能高。


