授权公布号:CN117104817B
一种物料转向自动化设备
有效
申请
2023-10-18
申请公布
2023-11-24
授权
2024-01-12
预估到期
2043-10-18
| 申请号 | CN202311344251.7 |
| 申请日 | 2023-10-18 |
| 申请公布号 | CN117104817A |
| 申请公布日 | 2023-11-24 |
| 授权公布号 | CN117104817B |
| 授权公告日 | 2024-01-12 |
| 分类号 | B65G43/08;B65G47/74;B65G47/82;B65G61/00;B65G47/24;B65G69/16 |
| 分类 | 输送;包装;贮存;搬运薄的或细丝状材料; |
| 申请人名称 | 烟台正海磁性材料股份有限公司 |
| 申请人地址 | 山东省烟台市开发区珠江路22号 |
专利法律状态
2024-01-12
授权
状态信息
授权
2023-12-12
实质审查的生效
状态信息
实质审查的生效;IPC(主分类):B65G43/08;申请日:20231018
2023-11-24
公布
状态信息
公布
摘要
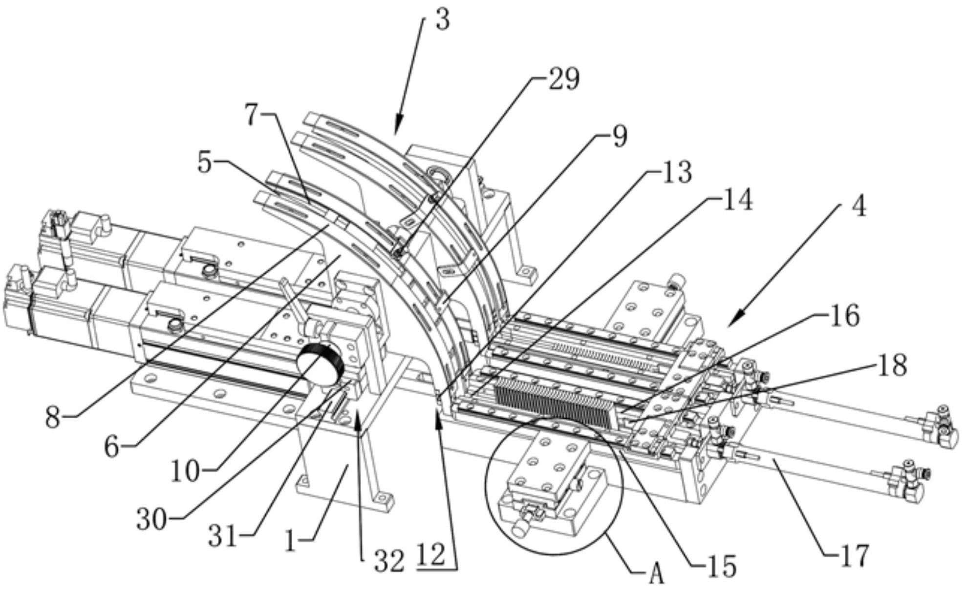
本发明公开了一种物料转向自动化设备,属于物料运输的技术领域,包括工作台,所述工作台上设有运输机构,运输机构的末端连接有换向机构,所述换向机构将物料换向,所述换向机构包括扇形换向轨道,扇形换向轨道的宽度可调节,所述工作台设有用于调节扇形换向轨道宽度的第一调节机构;工作台设有位于扇形换向轨道末端的物料防倾倒结构;扇形换向轨道上设有用于感应物料是否存在的存料位感应器,所述工作台上设有位于扇形换向轨道末端的反吹口,所述反吹口连接有气路,当存料位感应器感应到物料时,气路打开,反吹口向扇形换向轨道末端吹气以辅助物料克服重力磕碰。本发明具有兼容多种尺寸的物料,实现物料转向,且能够防止物料磕碰的效果。


